roboforum.ru

Технический форум по робототехнике.

3D принтер (Polyjet)

СРУВЧ!

Re: 3D принтер

Сообщение Myp » 02 окт 2008, 23:12

Слава
Роботам
Убить
Всех
Человеков
<telepathmode>На вопросы отвечает Бригадир Телепатов!</telepathmode>
Всё уже придумано до нас!
Аватара пользователя
Myp
скрытый хозяин вселенной :)
 
Сообщения: 18018
Зарегистрирован: 18 сен 2006, 12:26
Откуда: Тверь по прозвищу Дверь
прог. языки: псевдокод =) сила в алгоритме!
ФИО: глубокоуважаемый Фёдор Анатольевич

Re: 3D принтер

Сообщение Digit » 03 окт 2008, 08:49

:) Мастер, УФ и ИК - это разные "концы" спектра...
злой полицейский
Аватара пользователя
Digit
 
Сообщения: 3339
Зарегистрирован: 27 ноя 2004, 00:42
Откуда: совсем Москва
ФИО: Григорий

Re: 3D принтер

Сообщение Master » 03 окт 2008, 08:55

2 Мур, спсб.
2 Digit Эээээ, ну да точно :oops:
Аватара пользователя
Master
 
Сообщения: 4468
Зарегистрирован: 21 дек 2006, 19:56
Откуда: Украина, г.Одесса
прог. языки: Delphi и С

Re: 3D принтер

Сообщение hudbrog » 05 окт 2008, 13:37

Ну таки вот.
Купил фотополимер. По вязкости эта зараза как очень густой сахарный сироп, течет с большим трудом. Пока попробовал полимеризовать ее обычным светодиодным фанариком и "лампой синего света" - ноль реакции. За утро у окна слой около 2мм почти полимеризовался.

Еще раздербанил лазерный принтер. Это - отдельное счастье =) Не первый притнер, подвергшийся издевательствам мною, но самый веселый пожалуй что =) Модель мне попалась 92го года, компании hp, еще японско сборки с немецкими компонентами. Разбирать - сплошное удовольствие )
Потом покидаю фотки, но вытащил я оттуда для лазерный модуль, из него аккуратно извлек лазер с его блочком стабилизированного питания. Блок сделан на квад-оперционнике, конкретную схему по плате почему-то настолько лениво восстанавливать, что я склонясь к мысли, что проще сделать такой блок самостоятельно с нуля )

Вот, примерно такие пироги )
У меня в голове опилки и длинные слова меня только огорчают.
Аватара пользователя
hudbrog
 
Сообщения: 1585
Зарегистрирован: 14 май 2008, 15:49
Откуда: Москва
ФИО: Алексей

Re: 3D принтер

Сообщение Myp » 05 окт 2008, 13:39

где купил и скока стоит :)?
<telepathmode>На вопросы отвечает Бригадир Телепатов!</telepathmode>
Всё уже придумано до нас!
Аватара пользователя
Myp
скрытый хозяин вселенной :)
 
Сообщения: 18018
Зарегистрирован: 18 сен 2006, 12:26
Откуда: Тверь по прозвищу Дверь
прог. языки: псевдокод =) сила в алгоритме!
ФИО: глубокоуважаемый Фёдор Анатольевич

Re: 3D принтер

Сообщение hudbrog » 05 окт 2008, 14:38

яндекс по слову фотополимер выдает целую кучу магазинов ) конкретно где я купил не так важно, отдал около 1000руб за килограмм.
У меня в голове опилки и длинные слова меня только огорчают.
Аватара пользователя
hudbrog
 
Сообщения: 1585
Зарегистрирован: 14 май 2008, 15:49
Откуда: Москва
ФИО: Алексей

Re: 3D принтер

Сообщение hudbrog » 06 окт 2008, 09:31

таки давайте продолжим )
итак, несколько маломощных лазеров с длиной волны более 600нм с этой бодягой ниичаго не делают. эт плохо, но, в принципе, ожидаемо. Вообще, за адекватные деньги можно купить лазер с длиной волны около 530, и за чуть больше (около 10к) - 470, ну и потенциально можно купить блю-рей привод за 3500 с лазером в 405нм...
Эксперименты с 600нм мои догадки подтвердили, возможно дальнейшие эксперименты стоит проводить тока с лазером в 405нм.. но в связи с бааальшой покупкой, которая щаз съест все накопленные деньги, эти эксперименты я на пару месяцев отложу.

Тем временем, слегка уходя в сторону от идеи лазерной стереолитографии. Пошерстил я по инету в поисках реально работающих применений фотополимеров в области рапид-прототайпинга, и выяснил пару вещей. Все перечислять лень, но одна заинтересовала (точнее, заинтересовала эта мысль еще раньше даже, а теперь просто сильнее), это использование печатающих головок. С точки зрения фотополимеров - это печатается слой, экспонируется какое-то время, потом печатается следующий слой и т.д. Причем такой подход, в принципе, справедлив не только для фотополимеров, но и для многих других материалов.
У меня в голове опилки и длинные слова меня только огорчают.
Аватара пользователя
hudbrog
 
Сообщения: 1585
Зарегистрирован: 14 май 2008, 15:49
Откуда: Москва
ФИО: Алексей

Re: 3D принтер

Сообщение Myp » 06 окт 2008, 09:45

а этот полимер очень жидкий??

может сделать такую хрень по принципу маркера
рисуем густым слоем полимера(подогреть чтоб тёк лучше) рисунок, засвечиваем мощной уф лампой всё сразу, потом рисуем второй слой, и опять засвечиваем
долго зато просто :)

для разной точности разные стержни использовать
объёмные грубые детали рисовать толстым кончиком, мелкие детали рисовать тонким
<telepathmode>На вопросы отвечает Бригадир Телепатов!</telepathmode>
Всё уже придумано до нас!
Аватара пользователя
Myp
скрытый хозяин вселенной :)
 
Сообщения: 18018
Зарегистрирован: 18 сен 2006, 12:26
Откуда: Тверь по прозвищу Дверь
прог. языки: псевдокод =) сила в алгоритме!
ФИО: глубокоуважаемый Фёдор Анатольевич

Re: 3D принтер

Сообщение hudbrog » 06 окт 2008, 09:56

Кто помнит, давеча поднимал я тему про струйные принтеры. И там упоминалось, что два типа головок печатающих для них бывают - термические и пьезоэлектрические. Первые - выплевывают чернила путем их кипячения в специальной камере, за счет расширения при нагревании те вылетают через сопла. Вторые - за счет обратного пьезоэлектрического эффекта создают в специальной камере увеличенное давление, которое чернила собственно и выкидывает. Интересный факт (ну, мне таковым показался), что чернила вылетают со скоростью около 4-6 м/с!
Для печати всем подряд, понятное дело, используется пьезоэлектрический вариант.
Дальнейший полет мысли - раз технология исопльзуется, значит есть компании, которые производят соответствующие головки. А технология эта используется не только для 3д печати, но и для печати lcd экранов, и oled'ов, и непойми каких органических опытов и много для чего еще.
Снова поиск, нашлось две компании:
* microfab (http://www.microfab.com/about/publications.html)
* xaar
Последняя считается лидером в индустрии и все такое. XAAR'овская головка на 128 сопел стоит около 10000 рублей, что не так уж и дорого. А вот управляющее железо к ней - хз сколько, чесна говоря, но не сомневаюсь что много. Да и не джедайский это подход =)

Продолжение следует )

Добавлено спустя 2 минуты 28 секунд:
Myp писал(а):а этот полимер очень жидкий??

Раньше писал: "По вязкости эта зараза как очень густой сахарный сироп, течет с большим трудом. "
Myp писал(а):может сделать такую хрень по принципу маркера
рисуем густым слоем полимера(подогреть чтоб тёк лучше) рисунок, засвечиваем мощной уф лампой всё сразу, потом рисуем второй слой, и опять засвечиваем
долго зато просто :)

для разной точности разные стержни использовать
объёмные грубые детали рисовать толстым кончиком, мелкие детали рисовать тонким

Ну это по сути и предлагаю(из прошлого сообщения: "печатается слой, экспонируется какое-то время, потом печатается следующий слой"), тока чуть более развитое.

Добавлено спустя 7 минут 44 секунды:
Продолжим =) Ща я наспамлю будь здоров )
Как устроена пьезоэлектрическая печатающая головка? Для начала - надо на нее посмотреть. Вот тут отличная статья на эту тему:
http://members.shaw.ca/hargravep/head.htm

Оттуда пара интересных изображений:
Изображение
Сопел для каждого цвета стоит много. Я этого не знал например =)

Изображение
Сама печатающая часть - тоненькая панелька, в которой идет много проводков =) Это наводит на несколько мыслей. Первая - разобрать ее на запчасти - номер по успешности близкий к нулю. Вторая - ей, при желании, можно управлять )
Но тут возникает вторая проблема. Она расчитана на чернила, имеющие вязкость 1.7-2.0.. Подбирать печатаемый материал такой вязкости - задача не веселая.

На сайте епсона есть отличное видео, про то как головка работает:
http://www.epson.co.uk/supplies/video/head.htm
У меня в голове опилки и длинные слова меня только огорчают.
Аватара пользователя
hudbrog
 
Сообщения: 1585
Зарегистрирован: 14 май 2008, 15:49
Откуда: Москва
ФИО: Алексей

Re: 3D принтер

Сообщение Myp » 06 окт 2008, 10:00

а блин точно
чтото я пропустил момент вязкости

вобще...
в любом струйном принтере есть небольшой гидронасосик который качает чернила
он забавной конструкции, в круглой банке по стенке выложен резиновый шланг который ссплющивается роликами вращающимися по кругу, и они из шланга выдавливают в одну сторону чернила высасывая их из картриджа для прочистки сопел, если выход заткнуть то насос работает вхолостую без проблем поддерживая постоянное давление
в принципе если в насос пустить полимер и медленно крутить редуктором этот насос, то можно подавать чернила в рабочую зону за счёт постоянного давления сосздаваемого насосом и уже наносить рабочим инструментом ака носик маркера разного диаметра или любое другое осмотическое сопло
<telepathmode>На вопросы отвечает Бригадир Телепатов!</telepathmode>
Всё уже придумано до нас!
Аватара пользователя
Myp
скрытый хозяин вселенной :)
 
Сообщения: 18018
Зарегистрирован: 18 сен 2006, 12:26
Откуда: Тверь по прозвищу Дверь
прог. языки: псевдокод =) сила в алгоритме!
ФИО: глубокоуважаемый Фёдор Анатольевич

Re: 3D принтер

Сообщение hudbrog » 06 окт 2008, 10:07

Ну что, продолжим дальше? =)
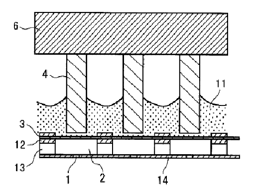
Шерстим по базе данных патентов. К сожалнию, ссылка со странички которую я приводил раньше - битая, да и самого патента такого не находица. Зато находица много других патентов. Вот кусочек из одного:
-головка.GIF

Патент не епсоновский, но по сути все это одно и то же. Для нелюбителей аглицкого языка, рассказываю основные моменты.
Кусок пластины из пьезоэлектрика приклеивается в основанию 6, специальной нитевой пилой прямо на этой пластине режется на кучу маленьких одинаковых пластинок 4.
Дальше берется пластинка 4 (материал - никель), в которой проделаны узкие сопла 1, на нее кладется пластина 13 (нержавеющая сталь) с прорезаными областями, образующими камеры давления 2. Мембрана 3 герметизирует эти камеры. К ней, с помощью упругого герметика 11 приклеиваются пьезоэлектрические пластины. Направление поляризации в пьезоэлектрических пластинах на данном рисунке - вертикальное. Соответственно, при подаче напряжения они будут удлинняца или укорачиваца, увеличивая или уменьшая давление в камере.
У меня в голове опилки и длинные слова меня только огорчают.
Аватара пользователя
hudbrog
 
Сообщения: 1585
Зарегистрирован: 14 май 2008, 15:49
Откуда: Москва
ФИО: Алексей

Re: 3D принтер

Сообщение Myp » 06 окт 2008, 10:22

Вторая - ей, при желании, можно управлять )

в сети гдето есть описалово приделывания к меге
головка пуляет струйки на расст в несколько сантиметров!!

вопрос, а этот полимер спиртом/ацетоном/чемугодно растворяется?
мб подобрать нужную вязкость и вперёд печатать?
<telepathmode>На вопросы отвечает Бригадир Телепатов!</telepathmode>
Всё уже придумано до нас!
Аватара пользователя
Myp
скрытый хозяин вселенной :)
 
Сообщения: 18018
Зарегистрирован: 18 сен 2006, 12:26
Откуда: Тверь по прозвищу Дверь
прог. языки: псевдокод =) сила в алгоритме!
ФИО: глубокоуважаемый Фёдор Анатольевич

Re: 3D принтер

Сообщение hudbrog » 06 окт 2008, 10:50

Продолжим наши крейзи идеи )
Итак, примем за рабочее решение, что саму печатающую головку от епсона использовать у нас не выйдет. За инфу про насос спасибо, я до этого еще не дошел ) Надо будет поискать описание как именно он сделан.
Конкретно фотополимер, есть у меня подозрение, вообще не выйдет так печатать сходу. В шприц на 20мл (а это один из самых больших в продаже) у меня этот фотополимер затянуть не вышло. Отсюда можно сделать вывод, что вытолкнуть его оттуда будет тоже не просто (хотя, с другой стороны, это надо изучить. паяльную пасту у меня засосать в шприц тоже не вышло, а выталкивать - вполне себе). Фак, а вот канистру с веществом я забыл взять с собой в питер.. ладно, эксперименты с самим фотополимером пока не принципиальны.

Итого, что нужно чтобы намонстрячить свою головку печатающую? (ну ведь у нас же тут раздел CRAAAZZZYYYY PRJECTZZ)
По сути, 4 компонента:
*сопло
*камера
*толкательный пьезоэлемент
*система подачи топлива

Для начала немного определимся. Сопло для начала возьмем около 0.1 мм.. Больше - незачет, меньше - пока не нужно. Камера. В принтерах высота камеры - десятые доли милиметра. Мы же пока криворукие, и камера пусть будет неограниченных размеров. В дальнейшем сделать ее из нержавейки произвольной формы - тоже не проблема.
Самое интересное - пьезоэлемент. При них надо говорить отдельно.
Система подачи топлива - надо думать пока что.

Добавлено спустя 8 минут 20 секунд:
Myp писал(а):
Вторая - ей, при желании, можно управлять )

в сети гдето есть описалово приделывания к меге
головка пуляет струйки на расст в несколько сантиметров!!
вопрос, а этот полимер спиртом/ацетоном/чемугодно растворяется?
мб подобрать нужную вязкость и вперёд печатать?

Если найдешь ту ссылку про приделывание к меге - будет тебе мега-респект ) Я видел только параллаксовые головки как приделываются.
Думал я о том, чтобы его растворять. Но на форумах пошерстил, народ пишет что не получается у них заставить епсоновую головку печатать что-то другое, кроме епсоновых чернил.
Да и стремно, откровенно-то говоря ) Неожиданные химические реакции, особенно бурные - не совсем то, что я люблю на себе испытывать.. а т.к. в химии я абсолютный ноль, то в общем-то все реакции для меня будут неожиданными =)

Добавлено спустя 12 минут 1 секунду:
Итак, подумаем немного про пьезоэлектрики.
В чистом виде, пригодном для дальнейших издевательств я их увидел в продаже только в забугорье. Два основных вида, доступные в продаже: керамические и пластиковые.
Для керамики один из основных материалов http://en.wikipedia.org/wiki/Lead_zirconate_titanate
Как пример конкретного изделия - Изображение
Стоит на ебае около 12 баксов. Размер каждой пластины приблизительный - 38х4х0.25

Пластик: http://www.imagesco.com/articles/piezo/piezo00.html
Изображение
Тонкая плстина, контакты просто с двух сторон. Заламинирована для сохранности )

Судя по изученным свойствам, пластиковые хотя и превосходят керамические по многим параметрам, одназначно проигрывают по развиваемой силе при обратной эффект и пьезоэлектрическому коэффициенту.

Остаемся с керамикой.
Заказывать из ласвегаса - долго и лень )
Откуда можно выдрать пьезоэлемент так?
Ну, всем известные пьезозажигалки, а также пьезоэлектрические динамики-пищалки. Ну еще некоторые акселерометры, и пачка других продуктов еще менее пригодных для извлекания из них элемента.

Добавлено спустя 6 минут 20 секунд:
Как устроен обычный пьезо-динамик?

Вот картинка:
Изображение
Ну и еще одна картинка на тему того, как оно работает:
Изображение


По сути своей, уже готовый элемент для импровизированной печатающей головки. Самый простой вариант - дырочку резонатора сужаем до диаметра сопла, сбоку вфигачиваем топливонасос )

Вот пример конкретного пьезоизлучателя:
Изображение
У меня в голове опилки и длинные слова меня только огорчают.
Аватара пользователя
hudbrog
 
Сообщения: 1585
Зарегистрирован: 14 май 2008, 15:49
Откуда: Москва
ФИО: Алексей

Re: 3D принтер

Сообщение Myp » 06 окт 2008, 11:03

а этот
кварцевый резонатор? там же как раз маленький кусочек кварца :)


вот раз http://fora2k.narod.ru/Fora/Atmel/myprojects_en.html
с компа печатают термоголовкой(я думаю для управления не очень принципиально,)

оригинальный проект с картриджем от струйника постараюсь найти потом

кстати а матричные принтеры может заюзать както? там ведь собсно есть подвижные вибрирующие поршни(иголки туда сюда прыгают, немного отодвинем головку с дырками чтоб иголки не вытаркивались и получим набор из нескольких камер) или отдельно есть довольно тонкие каналы можно заюзать отдельно в качестве тонких сопел готовых

Добавлено спустя 4 минуты 18 секунд:
берём сопла от матричного принтера, забиваем все кроме одного(нафиг нам много если ууправлять ими нельзя ?)
на эти сопла сверху прорезаем тонкую канавку для подвода полимера извне
сверху канавки приклеиваем пьезодинамик
врубаем динамик на вибрацию(подбираем опытным путём частоту вибрации чтобы выплёвывало жидкость наружу за счёт резонанса) а полимер подаём по каналу с помощью насоса...
<telepathmode>На вопросы отвечает Бригадир Телепатов!</telepathmode>
Всё уже придумано до нас!
Аватара пользователя
Myp
скрытый хозяин вселенной :)
 
Сообщения: 18018
Зарегистрирован: 18 сен 2006, 12:26
Откуда: Тверь по прозвищу Дверь
прог. языки: псевдокод =) сила в алгоритме!
ФИО: глубокоуважаемый Фёдор Анатольевич

Re: 3D принтер

Сообщение hudbrog » 06 окт 2008, 11:11

Ну и последнее. Электротехнически, пьезоэлемент можно воспринимать как чисто-емкостной элемент. Т.е. потребление тока им крайне мало, сопротивление у него - мегаомы, чтобы он изменил форму - его надо "зарядить" в той или иной полярности. Чтобы вернулся в изначальную форму - разрядить.

Это вроде как была домашняя работа =) Сопло подходящее у меня есть уже.. корпус под камеру, куда это сопло хорошо вставляется - тоже. Пьезоэлемент постараюсь купить после работы.
Надо придумать топливонасос =)
И еще, какой-то клапан видимо. Т.е. чтобы чернила не вытекали сами по себе, камера должна быть герметична. С другой стороны, чтобы чернила туда закачивать - нужна дырка специальная в камере )
Самый просто клапан, что приходит в голову - шарик, который умеет затыкать дырочку. Хз как это называется правильно, надо будет поискать.
И походу должна быть синхронизация какая-то по открытию этого клапана.
Т.е. мы вдавливаем пьезоэлемент - давление увеличивается - капелька выплевывается, потом мы его выгибаем, образуется некое разряжение в камере, в этот момент в камеру должно засосаться столько чернил, сколько мы выплюнули. Т.е. нагнетать туда давление наверна не стоит, оно должно само всасывать их.

Добавлено спустя 5 минут 28 секунд:
Myp писал(а):берём сопла от матричного принтера, забиваем все кроме одного(нафиг нам много если ууправлять ими нельзя ?)
на эти сопла сверху прорезаем тонкую канавку для подвода полимера извне
сверху канавки приклеиваем пьезодинамик
врубаем динамик на вибрацию(подбираем опытным путём частоту вибрации чтобы выплёвывало жидкость наружу за счёт резонанса) а полимер подаём по каналу с помощью насоса...

За ссылку спасибо )
А по этой теме тока один вопрос. А нафига тут матричный принтер? :shock:
Только ради сопел? Так есть кучи путей их получения куда проще. К тому же размер иглы в матричном принтере - просто огромный. В тех что я разбирал (по идее, где-то все еще даже должна валяца головка одна, если не выкинул), каждая игла была чуть ли не 1мм на 1мм.
У меня в голове опилки и длинные слова меня только огорчают.
Аватара пользователя
hudbrog
 
Сообщения: 1585
Зарегистрирован: 14 май 2008, 15:49
Откуда: Москва
ФИО: Алексей

Пред.След.

Вернуться в CRAZY PROJECTs

Кто сейчас на конференции

Сейчас этот форум просматривают: нет зарегистрированных пользователей и гости: 0

cron