![]()  | 
			
					roboforum.ruТехнический форум по робототехнике.  | 
			
				
					 | 
		
тогда мы будем занть в каком мы сейчас положении
поставить 4 фототранзистора в ряд
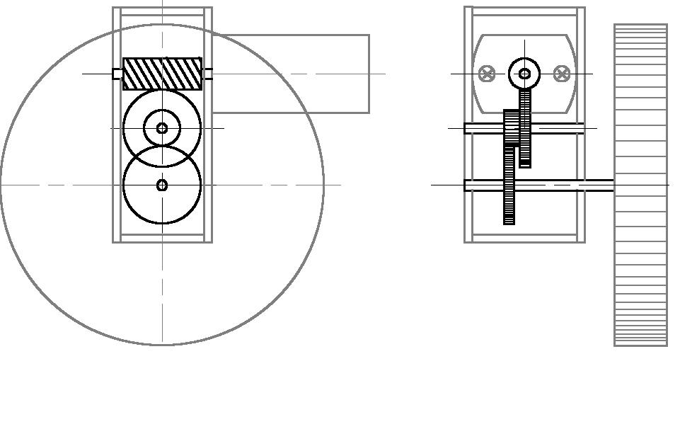
 пыль и грязь будет попадать в этот редуктор
Duhas писал(а):Эд, шестерни у тебя есть в наличии или есть из чего их изготовить?
для расчетов непомешали бы данные на движки + материал шестерен...
накидай тогда эскиз, я дома пересоберу тогда редуктор
Виталий писал(а):2. Ты привел стоимость компонент, а интересна стоимость изделия.
Duhas писал(а):Эд, шестерни у тебя есть в наличии или есть из чего их изготовить?
для расчетов непомешали бы данные на движки + материал шестерен...


EdGull писал(а):это когда тебе два колеса крутить нужно, тогда сервы по 200 рупий нормально, а когда аднроиди или паук?
что ж я зря так тему назвал по твоему?
Дык за 200р мы имеем готовое проверенное решение, а тут еще сколько сил вложить надо...

EdGull писал(а):Дык за 200р мы имеем готовое проверенное решение, а тут еще сколько сил вложить надо...
Да ты чё??? Ну как покажи мне готовую и проверенную серву со сквозным валом....
Нафига всё с нуля то решать?
Vovan писал(а):Допустимо, потому что все медные сплавы обладают примерно одинаковым коэффициентом трения скольжения и различаются только износостойкостью и температурным режимом...
ps: И что значит без электроники - как его без электроники применять? с возможность апгрейда разве только?
ну всё клёво! (на картинкеVovan ну вот что получилось с твоего предложения
 )допустимо, но нужно учитывать что латунь не такая прочная как сталь...а допустимо вал делать тоже также как и втулку латуной?
Сейчас этот форум просматривают: нет зарегистрированных пользователей и гости: 0