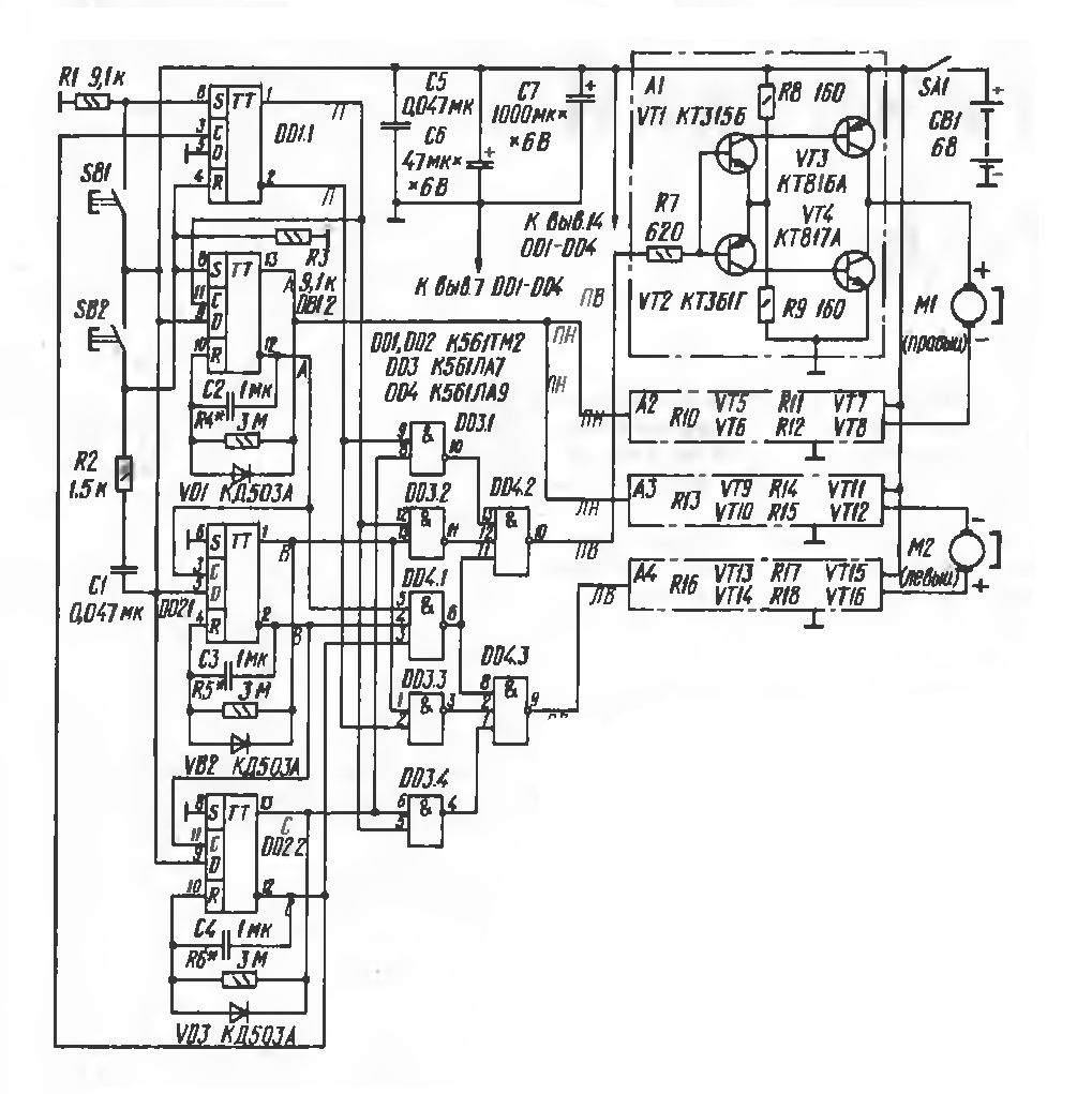
есть в наличае такая вот сема:
можно ли как-нибудь заменит тактильные датчики на фотодиоды, чтоб модель вобще не вступала в физический контакт с препятствием???
![]() |
roboforum.ruТехнический форум по робототехнике. |
|
)...Схема генератора импульсов проста как топор.ИК СД (с помощью генератора на ЛЭ шлет пачки).
,вместо кнопок по ТСОПу

Вернуться в Новичкам или основы основ роботостроения.
Сейчас этот форум просматривают: нет зарегистрированных пользователей и гости: 0