
--
не думал, что в 17м году вопрос кодировок ещё так актуален
 ![]()  | 
			
					roboforum.ruТехнический форум по робототехнике.  | 
			
				
					 | 
		

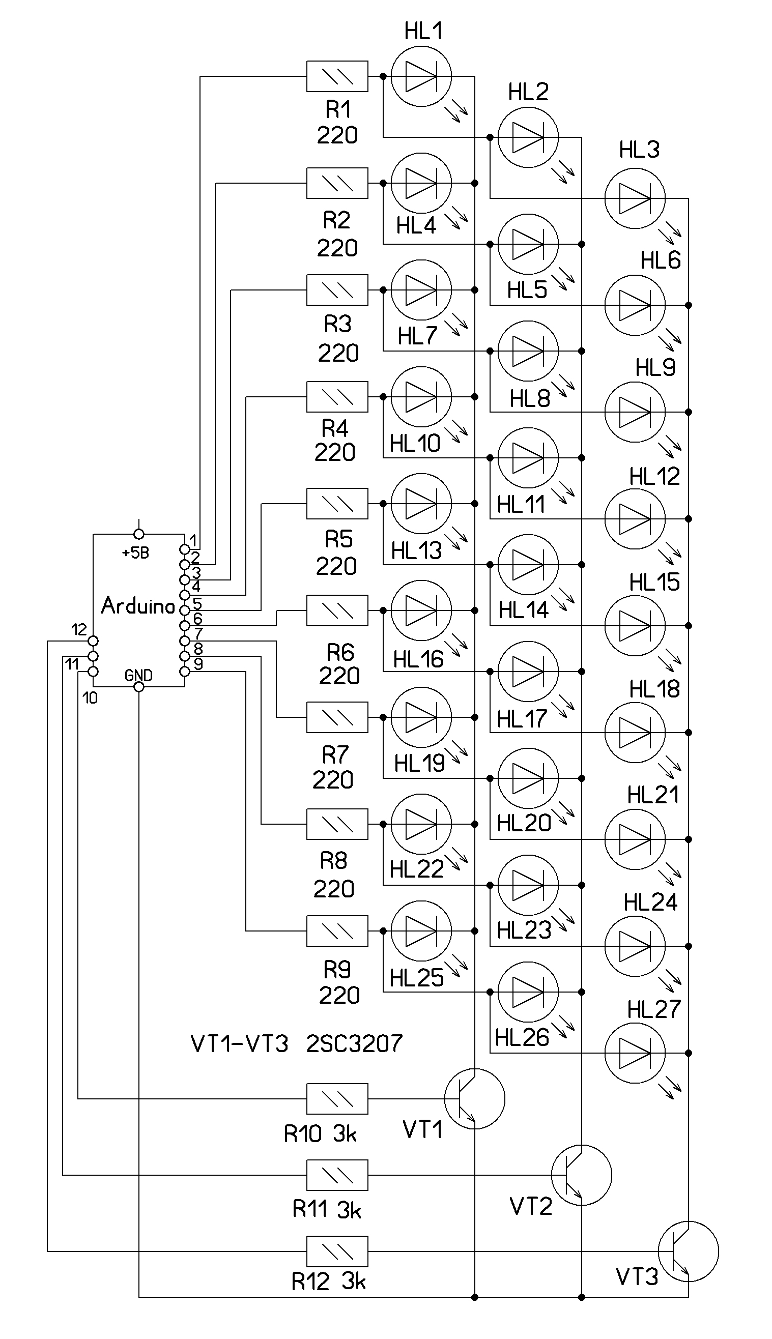
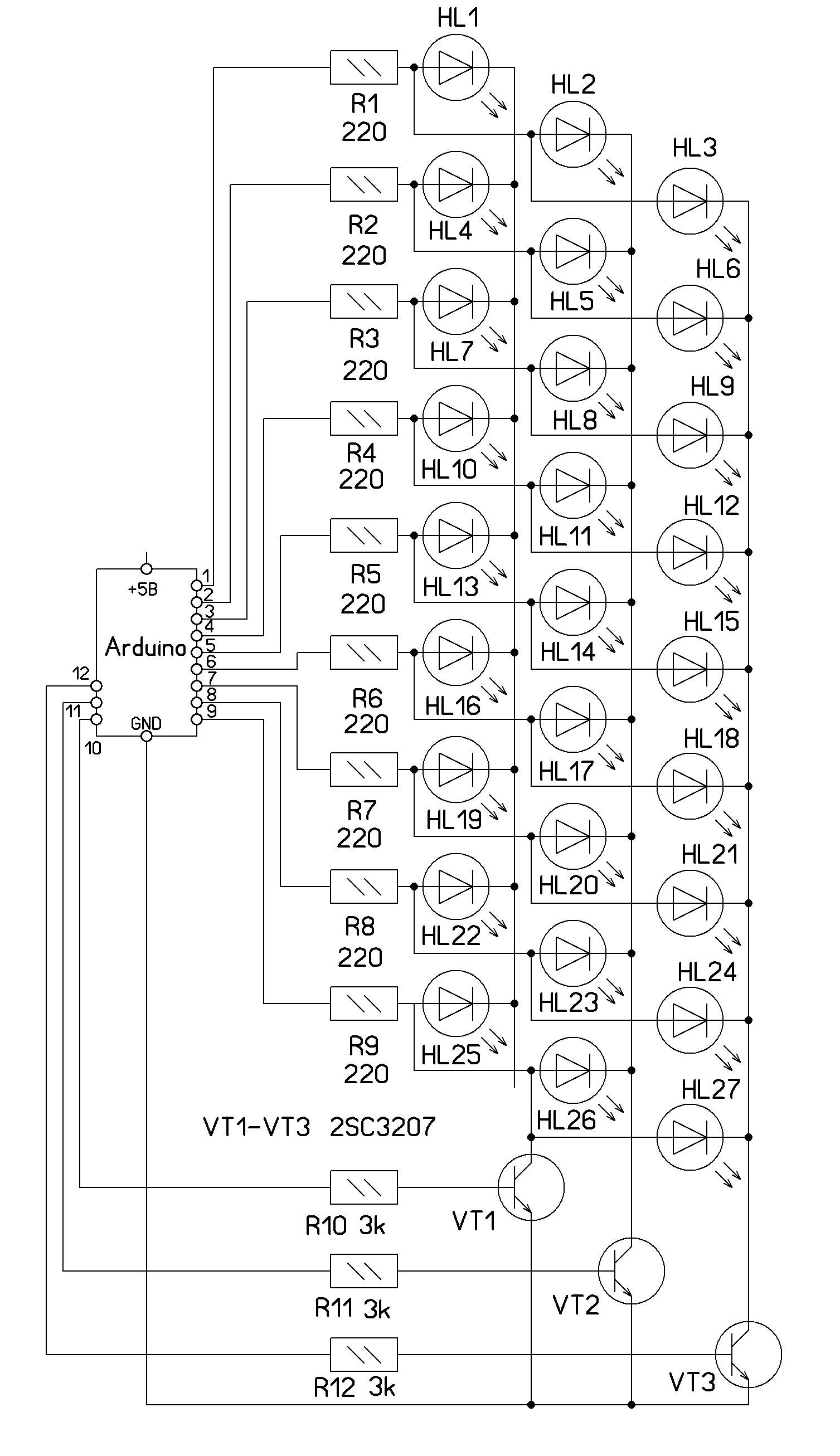
dimamichev писал(а):UTF-8. Вопрос - а можно наши комменты на нашем сохранять в скетчах, а не "англицкие"?

  
Dmitry__ писал(а):Возьми хороший редактор (в вендах notepad++), загрузи туда скетч, потом: выделить все, вырезать. После поменять кодировку файла на utf-8 и дать команду вставить. После чего все сохранить. Теперь документ будет в расово-правильной кодировке и нормально отображаться в IDE
 

dimamichev писал(а):Сын предложил писать скетчи не в ворде, в блокноте
 ilalexey писал(а):notepad++ наше фсё!
  
Dmitry__ писал(а):А уж сравнение 2-х файлов в notepad++ мне до сих пор не хватает в geany в линухе



Вернуться в Arduino и другие Xduino
Сейчас этот форум просматривают: нет зарегистрированных пользователей и гости: 0