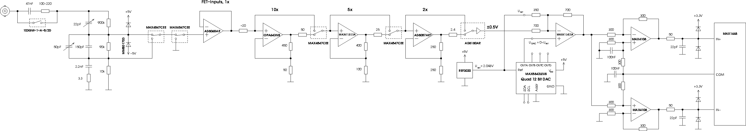
blindman писал(а):Предлагаю вот такую схему:
....
А где память где будут оцифровки хранится? Гдето рядом с пропеллером?
Т.е. вы предлагаете использовать пропеллерт только для передачи оцифрованных данных в память? То чем обычно программируемая логика заимается, но чтобы с ней не заморачиватся, верно?
У меня УСБ на винте внешнем на 3 месяца хватило (отходят контакты), теперь только в перевернутом состоянии работает. Там просто кабель толстый, УСБ2.0 - вот наверно и расшатаорсь (на осцилле тоже наверно 2.0 кабель не помешает).


