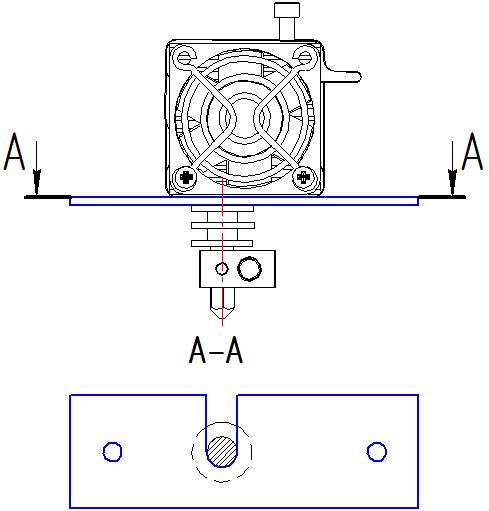
Maksium писал(а):Головка http://www.ebay.com/itm/MK9-0-2mm-0-3mm ... 4ad7ed6f29 очень даже ничего выглядит. Шестерня с мелкими зубьями, автоприжим и двигатель 4.8 кг. Возможно буду брать ее под замену своей пародии на мк8. Единственный нюанс - надо продумывать крепление.
Возможно крепление такое подойдет:
Мне тоже нравится такая конструкция (особенно цена). Но теперь я сомневаюсь:
1) из-за подачи пластика (как мне подсказали - редуктор выглядит убедительнее)
2) из-за нагревательной головки (мне чем проще в настройках, тем лучше)
У Вас, как у пользователя МК8, не возникали проблемы с заеданием прутка? С настройками?



