roboforum.ru

Технический форум по робототехнике.

Павуки (и не только) из разогнутых скрепок и прочего хлама..

Здесь расположены обсуждения и проекты, которые с точки зрения администрации форума представляют наибольший интерес.
Правила форума
В этом форуме новые темы не создаются, однако обсуждение допустимо.

Re: Павуки (и не только) из разогнутых скрепок и прочего хла

Сообщение SmorBoB » 19 авг 2010, 22:45

Например так:
два моторчика и крона.JPG

Крутишь рукой переменный резистор - меняется скорость вращения моторчиков.
Scio me nihil scire - Я знаю, что ничего не знаю
Текущий венец моего творчества: скрепСОХпОД-1
Аватара пользователя
SmorBoB
 
Сообщения: 232
Зарегистрирован: 07 сен 2009, 01:54
Откуда: Стерлитамак (Башкирия)
ФИО: Андрей

Re: Павуки (и не только) из разогнутых скрепок и прочего хла

Сообщение galex1981 » 19 авг 2010, 23:10

Элементарно :good:!
if(!Operate) Read(pDatasheet);
Аватара пользователя
galex1981
 
Сообщения: 4363
Зарегистрирован: 04 дек 2008, 22:44
Откуда: Камышин
Skype: galk-aleksandr1
прог. языки: Kotlin, Java, C, C++, Assm, BasCom, VB, php
ФИО: Галкин Александр Владимирович

Re: Павуки (и не только) из разогнутых скрепок и прочего хла

Сообщение Pirate » 20 авг 2010, 02:22

спс)
Аватара пользователя
Pirate
 
Сообщения: 289
Зарегистрирован: 18 авг 2010, 23:35
Откуда: Одесса

Re: Павуки (и не только) из разогнутых скрепок и прочего хла

Сообщение cjA » 20 авг 2010, 03:38

надобы перенести это пирата попросить а то кристальность мышления о роли скрепок в мироздании затуманивается .
И зачем моторчики последовательно- я не пойму? Они же будут непредсказуемо себя вести, или в этом и суть?
cjA
 
Сообщения: 468
Зарегистрирован: 19 мар 2010, 20:11

Re: Павуки (и не только) из разогнутых скрепок и прочего хла

Сообщение yak-40 » 20 авг 2010, 09:48

...и резстор надо ом 10-15 не более, проволочный, и крона моментально сядет :no:
- Этот человек - не человек! это робот!
- Как? уже делают?!
- Делают!!!
Аватара пользователя
yak-40
 
Сообщения: 3037
Зарегистрирован: 23 окт 2007, 22:03
Откуда: Москва
прог. языки: С
ФИО: Евгений Яковец

Re: Павуки (и не только) из разогнутых скрепок и прочего хла

Сообщение SSG » 20 авг 2010, 11:42

А что, совсем туго с финансами? Даже пальчиковых батареек нельзя купить? Схема выше, как и писали, уж очень абыкакая.
I live My life!
Аватара пользователя
SSG
 
Сообщения: 1058
Зарегистрирован: 15 янв 2007, 19:23
Откуда: Беларусь, Барановичи
прог. языки: С для МК, Delphi для ПК

Re: Павуки (и не только) из разогнутых скрепок и прочего хла

Сообщение Pirate » 20 авг 2010, 22:31

cjA писал(а):надобы перенести это пирата попросить а то кристальность мышления о роли скрепок в мироздании затуманивается .
И зачем моторчики последовательно- я не пойму? Они же будут непредсказуемо себя вести, или в этом и суть?


а кто тебе говорил о последовательности? ))) я попросил чтобы мне на пальцах объяснили как такое реализовать, мне объяснили суть, а дальше соединяй как хочешь. Можно соединить отдельно два мотора и к каждому по резистору.
Аватара пользователя
Pirate
 
Сообщения: 289
Зарегистрирован: 18 авг 2010, 23:35
Откуда: Одесса

Re: Павуки (и не только) из разогнутых скрепок и прочего хла

Сообщение MegaBIZON » 21 авг 2010, 08:03

лучше, по-моему, так:
pnp.gif
pnp.gif (2.67 КиБ) Просмотров: 5613

Транзистор какой-нибодь помощнее, резюк... нууу... попробуй от 4.7Ком.
Так вроде и батарейка выжираться так сильно не будет, и моторчикам проще.
Кто не согласен, поправьте меня - я тут в электронике не шибко умный :)
.............солнце светит, птички поют, я - зелёный бамбук меня тянет к солнцуЯ - зелёный бамбук, я - зелёный бамбук , меня тянет к солнцу. Я - не огурчик и не лягушка, я - зелёный бамбук. Меня курят...............
Аватара пользователя
MegaBIZON
 
Сообщения: 6285
Зарегистрирован: 12 янв 2007, 00:34
Откуда: Масква

Re: Павуки (и не только) из разогнутых скрепок и прочего хла

Сообщение loox » 21 авг 2010, 08:28

MegaBIZON писал(а):лучше, по-моему, так:
pnp.gif

Транзистор какой-нибодь помощнее, резюк... нууу... попробуй от 4.7Ком.
Так вроде и батарейка выжираться так сильно не будет, и моторчикам проще.
Кто не согласен, поправьте меня - я тут в электронике не шибко умный :)



Я полагаю не совсем так... Сомнительнj и примитивно
На пальцах это объяснить затруднительно... лучше пользоваться учебниками или пособиями
На этом форуме есть ссылки на книги, для любого уровня. Вернитесь на главную .... в самом низу.
Если есть конкретные вопросы можете обратиться лично
loox
loox
 
Сообщения: 326
Зарегистрирован: 26 мар 2008, 12:45

Re: Павуки (и не только) из разогнутых скрепок и прочего хла

Сообщение MegaBIZON » 21 авг 2010, 08:32

Ну да, я в транзах довольно примитивно мыслю :)

Но нарисовал бы тогда уж сам картинку, чем в библиотеку посылать - там же голову поломаешь, пока что-то найдёшь...
.............солнце светит, птички поют, я - зелёный бамбук меня тянет к солнцуЯ - зелёный бамбук, я - зелёный бамбук , меня тянет к солнцу. Я - не огурчик и не лягушка, я - зелёный бамбук. Меня курят...............
Аватара пользователя
MegaBIZON
 
Сообщения: 6285
Зарегистрирован: 12 янв 2007, 00:34
Откуда: Масква

Re: Павуки (и не только) из разогнутых скрепок и прочего хла

Сообщение loox » 21 авг 2010, 08:46

Самое удобное решение применить L293 - недорого и надежно, самое главное просто

Добавлено спустя 8 минут 14 секунд:
Re: Павуки (и не только) из разогнутых скрепок и прочего хлама..
Могу выложить книгу для начинающих, но не знаю принято ли на этом форуме выкладывать книги 8 мб...
loox
Вложения
l293d.pdf
(80.68 КиБ) Скачиваний: 0
loox
 
Сообщения: 326
Зарегистрирован: 26 мар 2008, 12:45

Re: Павуки (и не только) из разогнутых скрепок и прочего хла

Сообщение setar » 23 авг 2010, 22:13

с местом у нас проблем нету, особенно для полезного материала
Аватара пользователя
setar
Site Admin
 
Сообщения: 10991
Зарегистрирован: 04 окт 2004, 12:58
Откуда: St.Petersburg
Skype: taranenko.sergey
ФИО: Сергей Тараненко

Re: Павуки (и не только) из разогнутых скрепок и прочего хла

Сообщение cygapb » 26 авг 2010, 16:09

loox писал(а):Самое удобное решение применить L293

гы.. во чего выкопал (одна страничка PDF)... правда, про 2 шаговых двигателя...
(вместо платы можно в картонке дырок надавить и ноги с другой стороны проводками спаять, а питание через 7805 с Кроны подать)
Вложения
L293B в схеме драйвера ШД (manual).pdf
(559.4 КиБ) Скачиваний: 0
cygapb
 
Сообщения: 3
Зарегистрирован: 26 авг 2010, 15:13

Re: Павуки (и не только) из разогнутых скрепок и прочего хла

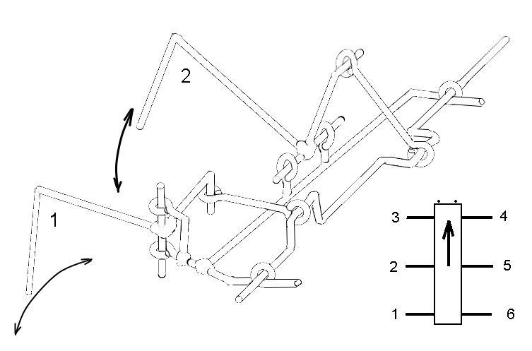
Сообщение MegaBIZON » 18 сен 2010, 17:20

Просили меня тут разжевать устройство шалтая.
Попробовал:
Вложения
Шалтайская схема.gif
.............солнце светит, птички поют, я - зелёный бамбук меня тянет к солнцуЯ - зелёный бамбук, я - зелёный бамбук , меня тянет к солнцу. Я - не огурчик и не лягушка, я - зелёный бамбук. Меня курят...............
Аватара пользователя
MegaBIZON
 
Сообщения: 6285
Зарегистрирован: 12 янв 2007, 00:34
Откуда: Масква

Re: Павуки (и не только) из разогнутых скрепок и прочего хла

Сообщение kolDOOM » 18 сен 2010, 18:37

а вот нога под номером 3 кук крепиться и как приводиться в движенье?
или она с №1 соеденена?
Не ждите чуда , чудите сами
Аватара пользователя
kolDOOM
 
Сообщения: 185
Зарегистрирован: 13 сен 2010, 20:40
Откуда: Смела
прог. языки: Релейный,КрепкияМатерныйДрайв
ФИО: Роман Витальевич

Пред.След.

Вернуться в Золотой фонд

Кто сейчас на конференции

Сейчас этот форум просматривают: нет зарегистрированных пользователей и гости: 0

cron