Привет всем, у меня есть похожая тема в разделе "Электротехника". Но я решил что эта информация не для того раздела и возможно будет интересна некоторым читателям. (Если модератор посчитает нужным, то пусть объединит тему.)
Было решено делать манипулятор по-секционно, т.е. в каждой секции по собственному мотору, потому как: во первых если применять рычажный тип при воздействии на каждую секцию, то сам манипулятор будет ограничен в движениях и его рабочий ход будет менее 360°, во вторых при таком расположении моторов, каждая следующая секция может быть снята и/или заменена и не будет влиять на действие всего манипулятора.
В данной конструкции предпочтение отдается прямой передачи момента с моторов на каждую следующую секцию, для достижения максимальной точности, однако не всегда это возможно, в таком случае предпочтение отдается минимальному количеству соединений. Ременная передача момента в данной конструкции не используется вообще.
(Прошу заметить что я не профессионал в данной области и могу где-то ошибаться, поэтому если кто-нибудь заметит - поправляйте меня не стесняясь, я все учту.) Спор в моей голове насчет серво vs степперы все еще идет, хочу прояснить все тут.
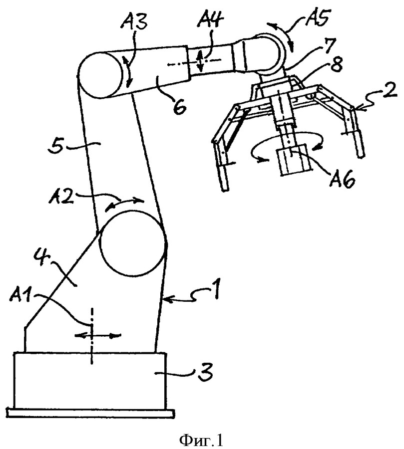
В первую очередь нужно понять какой максимальный крутящий момент нам нужен, максимально необходимый крутящий момент будет нужен в двух секциях A2 и A3, но наибольшее в A2 при поднятии тела ровно вверх, когда плечо №5 и №6 будет параллельно плоскости на которой стоит манипулятор, схематично изображено на рисунке:
Для расчетов необходимо понимать, сколько будет весить одна секция с мотором. Для примера возьмем три разных мотора: безщеточный серводвигатель, шаговый двигатель, шаговый двигатель с редуктором 5:1. Масса сервопривода - 70г, масса шагового двигателя 220г, масса шагового двигателя с редуктором 5:1 - 350г. Вес одной секции без мотора - 120г(взято примерно, при использовании алюминиевых пластин).
Используя формулу F=m*a мы вычислим какая сила должна воздействовать на тело для того, чтобы его поднять. Но необходимо понимать, что поднимая тело, мотору нужно так же поднимать все сегменты манипулятора, которые расположены после него. Таким образом формула принимает вид: F = (m(тела) + m(сегмента 1) + m(сегмента 2) + ... + m(сегмента n))*(a + g). Где F - сила, приложенная к телу, m -масса чего-либо, a - ускорение тела и g - ускорение свободного падения.
Получается что для поднятия тела массой 500г. вертикально вверх c равномерным ускорением по формуле a = (V1-V0)/t, где V0 - это начальная скорость, которая равна 0 и V1 - это конечная скорость которая равна 0,5 м/с, а t - это время прошедшее с момента V0 до V1 равное 1 секунде, то ускорение у нас равно a = (0,5м/с - 0)/1сек= 0,5м/с^2, тогда для каждой из конструкций необходимо приложить силу:
конечная формула такая F = (0,5кг + m(сегмента)*3 + m(масса 4-ого сегмента, с захватом или другими прибамбасами пусть будет 150г))*(a + g)
Для сервопривода:
F = (0,5кг + 0,19кг * 3 + 0,15кг)*(0,5м/с^2 + 10м/с^2) = 1,22кг*10,3м/с^2 = 12,56Н
Для шагового двигателя:
F = (0,5кг + 0,34кг * 3 + 0,15кг)*(0,5м/с^2 + 10м/с^2) = 1,67кг*10,3м/с^2 = 17,2Н
Для шагового двигателя с редуктором 5:1:
F = (0,5кг + 0,47кг * 1 + 0,34кг * 2 + 0,15кг)*(0,5м/с^2 + 10м/с^2) = 1,8кг*10,3м/с^2 = 18,54Н
Заметили что я сделал в последней формуле? В данном случае шаговый двигатель с редуктором нам нужен только в A2 и в A3, но по скольку мы массу мотора A2 не учитываем, потому что сам мотор стоит в предыдущем сегменте, то учитываем только вес A3, а в качестве остальных моторов - A4, A5 нет необходимости использовать редуктор, потому как обычные шаговики справятся с необходимы крутящим моментом. поэтому мы прибавляем массу шаговых двигателей без редуктора.
Заметно как, небходимая сила увеличивается в зависимости от массы выбранного двигателя для сегмента манипулятора.
Однако это еще не все, эта F, которую мы нашил эта сила, которую нужно приложить в середине веса данной конструкции т.е. в середине всех четырех сегментов с грузом, параллельной плоскости на которой закреплен манипулятор, но силу мы ведь прикладываем не по середине, а в самом начале, потому как мотор расположен у нас в самом начале. Тогда нам необходимо найти момент силы используя формулу M(F)=F*h, где M(F) - момент силы, F - сила, h -плечо. Однако и это еще не все нужно понять длину каждого сегмента. Возьмем примерные величины, при передаче на поднимающийся механизмы будем воздействовать напрямую при использовании сервопривода и шагового двигателя, а при использовании шагового двигателя с редуктором 5:1 будем использовать угловую передачу момента с редуктора на сегмент манипулятора. Потому как данный тип двигателя слишком длинный из-за установленного планетарного редуктора, длинна которого такая же как один шаговый двигатель. Приблизительные размеры: плечо №5 - 20см, плечо №6 делится на два сегмента по 10см, плечо №7 - 5см. В общем длинна полностью разогнутого манипулятора от мотора A2 22см+11см+11см+6см=50 см. Каждый из описываемых моторов может быть установлен во все сегменты кроме последнего.
Для сервопривода:
Вначале прибавляем 5% от необходимой силы на "запас".
F= 12,56N + (0,05*12,56N)=13,18Н
M(F)=13,18N*0,5м = 6,59Нм = 67,19кгс/см, у нас ведь не метр, а 50 см
Для шагового двигателя:
F= 17,2N + (0,05*17,2N)=18,06Н
M(F)=18,06N*0,5м = 9,03Нм = 92,08кгс/см
Для шагового двигателя с редуктором 5:1:
F= 18,54N + (0,05*18,54N)=19,46Н
M(F)=18,54N*0,5м = 9,73Нм = 99,21кгс/см
Хотел продолжить дальше, но что-то не то, какие-то немыслимые числа, есть идеи, где я мог ошибиться?

