=DeaD= писал(а):Так я ж не против, просто везде пишут что 3В достаточно для нормальных серв
"Везде" - это где?
=DeaD= писал(а):Так я ж не против, просто везде пишут что 3В достаточно для нормальных серв
Mazayac писал(а):"Везде" - это где?


EdGull писал(а):дороги на питалово серв намного толще нужно сделать
Duhas писал(а):по плате претензий собых нет.. НО! имхо необходимо вылизать ее... мне лично не нравятся некоторые дорожки... справа внизу около между кондеров...
вообще требования аля повороты на 90 градусов в топку и тд... мог бы подправить - подправил бы..

Намного - это насколько?


по габаритам печатных площадок имеется в виду...
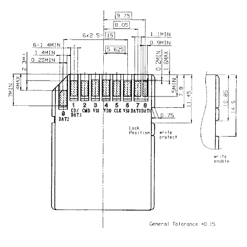
будем её по RoboBus'у подключать? 



=DeaD= писал(а):Может ну его SD-карточку?будем её по RoboBus'у подключать?
Добавлено спустя 1 минуту 23 секунды:
Да и порты на АТМега128 даже закончились почти...
Duhas писал(а):ппц довели .. качаю игл...

Сейчас этот форум просматривают: нет зарегистрированных пользователей и гости: 3