Аккумуляторы и все о них

Резисторы, транзисторы, конденсаторы, микросборки, чип компоненты ...
Вопросы согласования управляющих модулей с периферией.

Re: Аккумуляторы и все о них

Сообщение elmot » 03 фев 2013, 23:41

Свинец. Дешевый, пофигистично относится к холоду. 6В - стандартное напряжение.
Аватара пользователя
elmot
 
Сообщения: 5691
Зарегистрирован: 10 ноя 2011, 12:02
Откуда: Turku, Finland
Skype: elmot73
прог. языки: Java и все-все=все
ФИО: Илья

Re: Аккумуляторы и все о них

Сообщение Dmitry__ » 04 фев 2013, 00:22

li-fe аккумы: a123 до -30, ниже - не гулять с ребенком :)

Добавлено спустя 28 минут 24 секунды:
http://www.powerlabs.ru/page-10/articles/a123-new.html
Аватара пользователя
Dmitry__
 
Сообщения: 8033
Зарегистрирован: 13 янв 2011, 15:25
Откуда: Санкт-Петербург

Re: Аккумуляторы и все о них

Сообщение Kitam1n » 04 фев 2013, 10:40

Спасибо!
Точно, свинец. Только размер в разы больше радионяни, и вес соизмерим с грудничком :). Зато можно зарядить, поставить на холод и забыть, только питаться от него по необходимости... и заряжать время от времени.

Li-Fe круто, но у меня нет :(, заказывать ради этого не буду, пока дойдет будет уже весна, "птички поют, травка зеленеет, солнышко блестит" (С) :) А к след. зиме уже и не понадобится...
Лучше переесть, чем недоспать.
Аватара пользователя
Kitam1n
 
Сообщения: 343
Зарегистрирован: 30 мар 2012, 16:39
Откуда: Москва
прог. языки: C#, Си, php
ФИО: Влад

Re: Аккумуляторы и все о них

Сообщение boez » 13 фев 2013, 16:44

Свинец можно поискать на хозрядах какого-нить базара, где продают разные китайские фонари - там кроме самого ходового типоразмера (6 В, 4 Ач) бывают вроде и поменьше, хотя и 4Ач тоже не такой уж тяжелый, все равно в коляске ж будет кататься?
Я вообще вместо няни купил 2 рации Midland дешевых - одну кидаю с включенным VOX и нулевой громкостью (на случай если кто-то другой что-то на канале вякнет - чтоб детенка не разбудил) в коляску/кроватку, а вторую с собой. Оно конечно всякие там сердцебиения-температуры не меряет, но если у детенка что-то будет не так или просто выспался - он мне полюбому через рацию сообщает :)
boez
 
Сообщения: 1981
Зарегистрирован: 27 авг 2008, 10:45
Откуда: Харьков
прог. языки: С/С++

Re: Аккумуляторы и все о них

Сообщение stigmaster » 19 апр 2013, 19:06

Товарищи, позвольте с вами проконсультироваться по одному аккумуляторному вопросу - у меня банально не хватает знаний для самостоятельного решения дилеммы.
Дело вот в чём: есть у меня 5-ваттная рация Motorola Gp-68 с убитым в хлам аккумулятором на 600 мА/ч (хз, что там - либо кадмий, либо металл-гидрид). Покупать новый аккум для неё мне очень не хочется - аккумы эти у меня живут не больше полутора лет, т.к. рацией я пользуюсь нерегулярно, и аккумы просто умирают от простоя.
Пришла в голову мысль выпотрошить пластиковый корпус родного аккума, и запихать туда какой-нибудь литий (хранить литевые батарейки умею - есть умная зарядка с опцией storage).

Однако, напряжение родного аккума - 7.2 вольта, а литиевых батарей с аналогичным напряжением в природе не существует. Приходят в голову следующие варианты решения проблемы:

1) Двухбаночная Ли-По на 7.4 вольта. Останавливает то, что при полном заряде напруга будет не 7.4, а 8.4 вольта (по 4.2 на банку).
2) Двухбаночная LiFePo4 на 6.6 вольт. При полном заряде получается как раз 7.2, но я с такими батареями дела не имел, и не знаю, насколько быстро напруга просядет до 6.6, и может ли девайс работать с таким напряжением.
3) ЛиПо на 7.4 + стабилизатор питания на 7.2 вольта. Поскольку в стабах я тоже нуб, хотелось бы узнать, бывают ли такие нерегулируемые в одночиповом варианте, или как можно наколхозить необходимый стаб.

Короче, за любые советы буду очень признателен. Вполне допускаю, что понаписал полную хрень, так что на всякий случай прошу прощения :)
P.S. Гуглил на тему диапахона допустимого входного напряжения для этой рации, но конкретных цифр не нашёл. Если кто найдёт и ткнёт мордой - опять же, буду дико признателен.
stigmaster
 
Сообщения: 36
Зарегистрирован: 30 сен 2011, 01:18
Откуда: Рига
прог. языки: Java, C++, Processing

Re: Аккумуляторы и все о них

Сообщение Dmitry__ » 19 апр 2013, 19:19

Ставь литий и не парься. Кадмиевые аккумы заряжаются до 1.45 вольт, имеем 1.45 * 6 = 8.7 вольт

Добавлено спустя 2 минуты 58 секунд:
А уж если так боишься, то поставь на умной зарядке ограничение напряжения, или заряжай как li-fe с ее 3.3 вольта, недозаряд минимален, а из-за повышенной емкости аккума относительно кадмия, рация будет работать в разы дольше

Добавлено спустя 3 минуты 31 секунду:
Ой, не кадмиевые до 1.45, а металл гидридные, но неважно...
Аватара пользователя
Dmitry__
 
Сообщения: 8033
Зарегистрирован: 13 янв 2011, 15:25
Откуда: Санкт-Петербург

Re: Аккумуляторы и все о них

Сообщение elmot » 19 апр 2013, 19:21

1) Если там NiCd или NiMh, то их можно потренировать умной зарядкой. Могут и ожить, особенно кадмий.
2) При полном заряде NiMh и NiCd дадут не 7.2В, а больше, где-то 8.5, т.к полностью заряженная живая банка никилевого аккума ни разу не 1.2В, а где-то 1.4. Самое забавное, что полудохлая банка NiMh может дать еще больше напруги, но емкости уже не будет.
Аватара пользователя
elmot
 
Сообщения: 5691
Зарегистрирован: 10 ноя 2011, 12:02
Откуда: Turku, Finland
Skype: elmot73
прог. языки: Java и все-все=все
ФИО: Илья

Re: Аккумуляторы и все о них

Сообщение stigmaster » 19 апр 2013, 19:24

Только что пришла в голову мысль, которой следовало бы туда прийти уже давно - попрошу у сокомандника (страхоболисты мы) живой родной аккум, и попробую измерить напругу, а дальше уже буду плясать от полученных данных.

Оживлять это УГ я просто не хочу - пусть лучше сдохнет, падла такая :crazy: Сколько раз, блин, подводила - позарез нужна рация, а она разрядилась.

В общем, спасибо за советы. Наверное, поставлю туда двухбаночный липо с хоббикинга, да и дело с концом. Осталось только понять, в какие габариты придётся вписываться.
stigmaster
 
Сообщения: 36
Зарегистрирован: 30 сен 2011, 01:18
Откуда: Рига
прог. языки: Java, C++, Processing

Re: Аккумуляторы и все о них

Сообщение Dmitry__ » 19 апр 2013, 19:31

Габариты будут в норме. Аккумы будут болтаться как ... в проруби :)
Вот мой шуруповерт переделанный на литий, когда я его даю кому-нибудь в руки, его чуть не роняют из-за неожиданности, аккум по весу как пустая пластиковая коробка
forum61/topic12163-15.html#p255172
Аватара пользователя
Dmitry__
 
Сообщения: 8033
Зарегистрирован: 13 янв 2011, 15:25
Откуда: Санкт-Петербург

Re: Аккумуляторы и все о них

Сообщение stigmaster » 19 апр 2013, 19:34

ОК, спасибо ещё раз :)
Потом похвастаюсь результатом, если таковой будет.
stigmaster
 
Сообщения: 36
Зарегистрирован: 30 сен 2011, 01:18
Откуда: Рига
прог. языки: Java, C++, Processing

Re: Аккумуляторы и все о них

Сообщение Madf » 20 апр 2013, 13:01

stigmaster писал(а):попрошу у сокомандника (страхоболисты мы) живой родной аккум, и попробую измерить напругу, а дальше уже буду плясать от полученных данных.

Только меряйте напряжение прямо после зарядки (чтобы получить макс значение).
Madf
 
Сообщения: 3298
Зарегистрирован: 03 янв 2012, 12:55
Откуда: Москва
прог. языки: VB6, BASCOM, ASM...

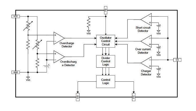
dw01, увеличить ток зарядки?

Сообщение Myp » 02 сен 2013, 23:33

микра для зарядки 1 штуки лития dw01
имеет вход CS, вроде как для контроля тока?
DW01-G-circuits.jpg

DW01FortuneSemiconductorCorppdf2.jpg



вопрос, можно ли заменив штатный резистор R2 на 1 кОм увеличить ток зарядки литиевого аккумулятора?
рядом стоит 8205А, вроде как сборка мосфетов до 5 ампер.
8205A.pdf
(372.22 КиБ) Скачиваний: 0



ато прицепил к китайской плате акк большой ёмкости и он архи долго заряжается.
<telepathmode>На вопросы отвечает Бригадир Телепатов!</telepathmode>
Всё уже придумано до нас!
Аватара пользователя
Myp
скрытый хозяин вселенной :)
 
Сообщения: 18018
Зарегистрирован: 18 сен 2006, 12:26
Откуда: Тверь по прозвищу Дверь
прог. языки: псевдокод =) сила в алгоритме!
ФИО: глубокоуважаемый Фёдор Анатольевич

Re: Аккумуляторы и все о них

Сообщение Gre4in » 18 окт 2013, 03:08

Кто че думает по поводу зарядки лития на MAX1758 + отсечка (контроллер) на MAX1666 ?
Хочется и зарядник и отсеку в миниатюре на борту бота держать. Может есть еще варианты какие нибудь?
Gre4in
 
Сообщения: 157
Зарегистрирован: 13 сен 2008, 17:53
Откуда: Иваново
прог. языки: Pascal, С

Re: Аккумуляторы и все о них

Сообщение elmot » 18 окт 2013, 03:23

Аватара пользователя
elmot
 
Сообщения: 5691
Зарегистрирован: 10 ноя 2011, 12:02
Откуда: Turku, Finland
Skype: elmot73
прог. языки: Java и все-все=все
ФИО: Илья

Re: Аккумуляторы и все о них

Сообщение Gre4in » 18 окт 2013, 03:27

да ну, на одну банку да еще 500 миллиампер. а если 2s или 3s?
Хочется ченить самому собрать.
Gre4in
 
Сообщения: 157
Зарегистрирован: 13 сен 2008, 17:53
Откуда: Иваново
прог. языки: Pascal, С

Пред.След.

Вернуться в Электроника, электротехника

Кто сейчас на конференции

Сейчас этот форум просматривают: нет зарегистрированных пользователей и гости: 2

cron