


 Делаешь пробный образец, демонстрируешь и - на продажу штампуешь заказчикам...
  Делаешь пробный образец, демонстрируешь и - на продажу штампуешь заказчикам...  Но он и сложнее китайских...
 Но он и сложнее китайских...

 Только вот я не смогу помочь с чертежами в солиде или каде, т.к. фсё пропало у меня дома ни одной удобной для меня программы не осталось... Осваивать левые кады чё-то влом, всё равно неудобно как-то. Поэтому могу помогать только эскизами ну и обсуждать... На работе хоть и есть кады, там просто нет возможности заниматься этим...
  Только вот я не смогу помочь с чертежами в солиде или каде, т.к. фсё пропало у меня дома ни одной удобной для меня программы не осталось... Осваивать левые кады чё-то влом, всё равно неудобно как-то. Поэтому могу помогать только эскизами ну и обсуждать... На работе хоть и есть кады, там просто нет возможности заниматься этим... 
 

Vovan писал(а): Делаешь пробный образец, демонстрируешь и - на продажу штампуешь заказчикам...

 
 Vovan писал(а):К примеру: какие шарниры закладывать в конструкцию (чтоб не были Мёбиусообразные. обрзн.)? - ведь вариантов повторения механики паучка несколько, какова будет конструкция поворотной платформы и ее привод? и т.д...
Да много вопросов, которые можно не спеша (в соответствующей теме) обсудить... А?
 )
 )


 , мождь поговорим на енту тему, да и закончим
 , мождь поговорим на енту тему, да и закончим  ... А может и выйдет...
 ... А может и выйдет...





 
 
Vovan писал(а): Вот этот узел как-раз и не подходит для скрепок...


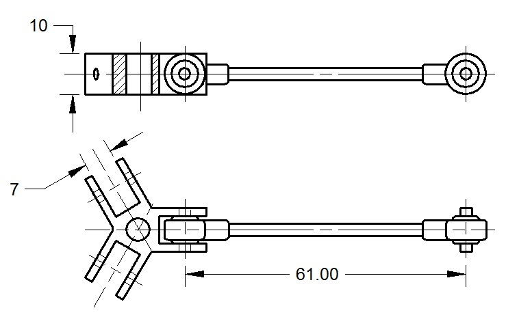
Vovan писал(а): Дмитрий, чисто к примеру: реально примерно такую (трехрогую) деталь изготовить?

 Если реально - тогда дальше буду изобретать... Да углы фигня, сгладим...
  Если реально - тогда дальше буду изобретать... Да углы фигня, сгладим... не тока помню, но и летал!вспомни первые самолеты с квадратными иллюминаторами


Сейчас этот форум просматривают: нет зарегистрированных пользователей и гости: 0