
![]() |
roboforum.ruТехнический форум по робототехнике. |
|

Делаешь пробный образец, демонстрируешь и - на продажу штампуешь заказчикам...
Но он и сложнее китайских...
Только вот я не смогу помочь с чертежами в солиде или каде, т.к. фсё пропало у меня дома ни одной удобной для меня программы не осталось... Осваивать левые кады чё-то влом, всё равно неудобно как-то. Поэтому могу помогать только эскизами ну и обсуждать... На работе хоть и есть кады, там просто нет возможности заниматься этим...

Vovan писал(а): Делаешь пробный образец, демонстрируешь и - на продажу штампуешь заказчикам...

Vovan писал(а):К примеру: какие шарниры закладывать в конструкцию (чтоб не были Мёбиусообразные. обрзн.)? - ведь вариантов повторения механики паучка несколько, какова будет конструкция поворотной платформы и ее привод? и т.д...
Да много вопросов, которые можно не спеша (в соответствующей теме) обсудить... А?
)

, мождь поговорим на енту тему, да и закончим
... А может и выйдет...

Vovan писал(а): Вот этот узел как-раз и не подходит для скрепок...
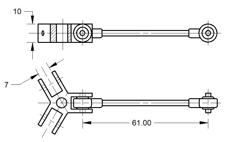
Vovan писал(а): Дмитрий, чисто к примеру: реально примерно такую (трехрогую) деталь изготовить?
Если реально - тогда дальше буду изобретать... Да углы фигня, сгладим... не тока помню, но и летал!вспомни первые самолеты с квадратными иллюминаторами
Сейчас этот форум просматривают: нет зарегистрированных пользователей и гости: 0