
У меня одна с ДВС, так вот та ещё и рычит
Всё равно хочется попробовать. Потеплее и посуше будет, займусь.
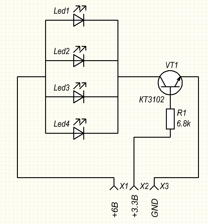
![]() |
roboforum.ruТехнический форум по робототехнике. |
|

похоже часы-рамка заразительно влияют.
Пробовал много разных вариантов, результат один
в DS убран драйвер SPI и добавлен драйвер двигателей.pashteet писал(а):Навеяно темой про фоторамку:
Нашел у себя на балконе вот такой вот ДВД плеер, естессно сгоревший


begin
// начальная инициализация команды, пример:'S40 0D 02 04B0 05 05B0 P'+#13;
s := 'S40 0D ';
for i := 0 to lb_tasks.Items.Count-1 do with tasks[i] do
if (T >= time_from) and (T <= time_to) then
begin
if T = time_to then
x := pos_to
else begin
dx := (pos_to - pos_from) div ((time_to-time_from) div tmr.Interval);
x := pos_from + ( (T - time_from) div (tmr.Interval) ) * dx;
end;
s := s + inttohex(servo,2) + ' ' + inttohex(x, 4) + ' ';
end;
// если есть что отправлять, то дополняю до команды и отправляю
if s <> 'S40 0D ' then //
com.WriteStr(s + 'P' + #13);
// если все задачи кончились
if T = T_max then
begin
tmr.Enabled := false;
interface_en_dis();
try
com.Close
except
ShowMessage('невозможно закрыть порт!');
close()
end;
end;
T := T + tmr.Interval;
end;

s := 'S40 0D ';



pashteet писал(а):по твоему я без дела сижу?



Сейчас этот форум просматривают: нет зарегистрированных пользователей и гости: 0