было что-то как минимум про кубы 6*6*6, 8*8*8 и 16*16*16.
с 9*9 в одном из вариантов да точно так же, как и для 16*16 (с 16*24, 16*32, 16*64, 32*32,...). при увеличении размерности матрицы по нужной оси или добавляется соответствующее кол-во микросхем/транзисторов/... или то, что использовалось для меньшей размерности меняется на что-то другое. и часть пинов не используется + в коде аналогично с избыточностью.
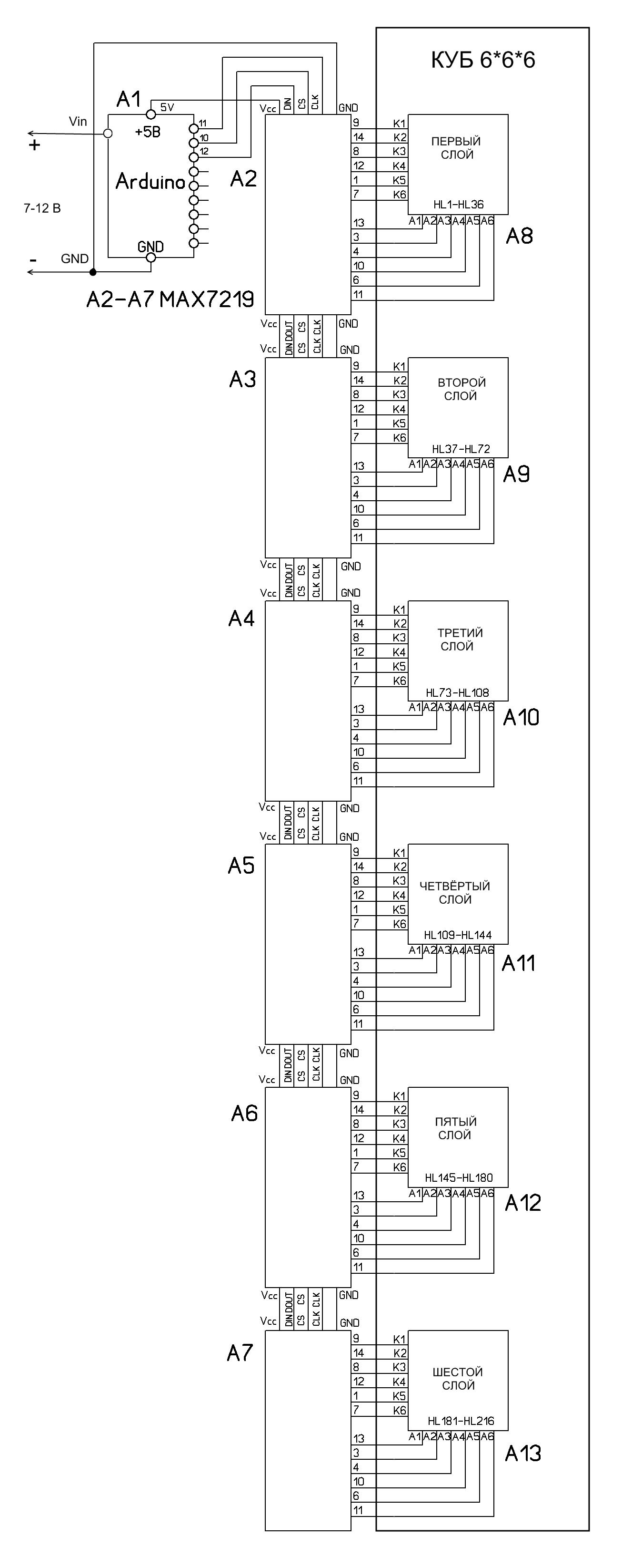
отталкиваемся от матрицы светодиодов, ну так под неё и подбирается вариант как сканировать и какие детали брать.
много? выкидывается лишнее.

- lm5.png (8.2 КиБ) Просмотров: 2358
опять много?

- lm6.png (4.55 КиБ) Просмотров: 2350
по одной оси 1-2 каких микросхемки (улн, сдвиги,...) или на ноги мк. и по другой оси 1-2 микросхемки, допустим одна 12, 16 или 24 канальная или две 8-ми канальных логики сдвига (без шима или с шимом или ещё какими плюшками). нужно ещё резисторы, транзисторы, оптореле,... добавляются. что сложного?
не, если хочется поприкалываться с экономией деталек, можно как 8*8 и немножко поупражняться с 9й строчкой, столбцом и слоем. но с этим всё просто - любишь с горочки кататься, луби и саночки возить. т.е. прикалывайтесь сами.