roboforum.ru

Технический форум по робототехнике.


Народный червячный редуктор для андроидов и пауков

Шестерни и колёса, тяги и тросики... Каркасы, скелеты ...

Re: Народный червячный редуктор для андроидов и пауков

Сообщение celladon » 25 авг 2008, 16:34

Переменный резистор с приводом с небольшими доработками можно использовать как сервопривод. Редуктор червячный двухступенчатый.
Вложения
1.jpg
1.jpg (18.51 КиБ) Просмотров: 2750
celladon
 
Сообщения: 37
Зарегистрирован: 17 дек 2007, 11:35
Откуда: СПб

Re: Народный червячный редуктор для андроидов и пауков

Сообщение Duhas » 25 авг 2008, 16:36

Эд, шестерни у тебя есть в наличии или есть из чего их изготовить?

для расчетов непомешали бы данные на движки + материал шестерен...
«Как сердцу выразить себя? … Мысль изреченная есть ложь!»
В этом мире меня подводит доброта и порядочность...
"двое смотрят в лужу, один видит лужу, другой отраженные в ней звезды"
Аватара пользователя
Duhas
 
Сообщения: 6338
Зарегистрирован: 15 сен 2007, 13:03
Откуда: Красноярск
прог. языки: ASM(МК), C(PC)
ФИО: Гагарский Андрей Александрович

Re: Народный червячный редуктор для андроидов и пауков

Сообщение Myp » 25 авг 2008, 16:44

тогда мы будем занть в каком мы сейчас положении

а оно нам так надо...?
мы же с червяком, тоесть полюбасу будем знать в каком положении ибо скока отсчитает энкодер там и замрём наглухо
а при подаче питалова делать калибровку)
-----------------------------------------------------------
поставить 4 фототранзистора в ряд

чот не соображу никак
как ими пользоваться чтоб узнать положение?? :(

----------------------------------------------------------------
вал двигателя тонкий... как на нём червяк крепить?
потом червяк судя по картинке длинный, второй конец червяка надо будет чемто подпирать чтоб в воздухе не болтался...
---------------------------------------------------------
пыль и грязь будет попадать в этот редуктор

а кто мешает нам закрывать его с 4х сторон маленькими прямоугольными кусочками пластика?
и оставить одну дырочку чтоб туда пшыкать из балончика смазкой на производстве и заклеивать наклейкой.
---------------------------------------------------------------
ещё вопрос, выходная ось как будет выходить?? на неё буит самая большая нагрузка, надо чото типа втулок предусмотреть, ато просто стенку она быстро проест

-------------------------------------------------------------------
короче нафига вобще это надо?? стандартная серва стоит 200 рублей(сам лично тут купил)
наша серва (себестоимость порядка 100р.) с комплектом электроники в розницу телепатией ощущаю будет не меньше 150р. стоить, в чём выгода то?
------------------------------------------------------------------
далее
набор шестерней для стандартной сервы стоит 75 рублей
может нам просто под них корпус придумать как делать?

Добавлено спустя 1 минуту 6 секунд:
Duhas писал(а):Эд, шестерни у тебя есть в наличии или есть из чего их изготовить?

для расчетов непомешали бы данные на движки + материал шестерен...

шестерни в наличии
движки стандартные гдето тут на форуме даже уже обсуждались и расчитывались
<telepathmode>На вопросы отвечает Бригадир Телепатов!</telepathmode>
Всё уже придумано до нас!
Аватара пользователя
Myp
скрытый хозяин вселенной :)
 
Сообщения: 18018
Зарегистрирован: 18 сен 2006, 12:26
Откуда: Тверь по прозвищу Дверь
прог. языки: псевдокод =) сила в алгоритме!
ФИО: глубокоуважаемый Фёдор Анатольевич

Re: Народный червячный редуктор для андроидов и пауков

Сообщение Vovan » 25 авг 2008, 16:51

накидай тогда эскиз, я дома пересоберу тогда редуктор

Солида нет, так что двухмерное вИдение...
Редуктор можно сделать герметичным, или почти таковым, а мотор замуфтить к нему...
Вложения
Reductor.jpg
_________
Sincerely,
Vovan
Аватара пользователя
Vovan
 
Сообщения: 3340
Зарегистрирован: 05 окт 2005, 12:03
Откуда: Литва
прог. языки: asm

Re: Народный червячный редуктор для андроидов и пауков

Сообщение EdGull » 25 авг 2008, 17:00

Виталий писал(а):2. Ты привел стоимость компонент, а интересна стоимость изделия.

это текущие цены моего инет-магазина

Добавлено спустя 1 минуту 58 секунд:
Duhas писал(а):Эд, шестерни у тебя есть в наличии или есть из чего их изготовить?
для расчетов непомешали бы данные на движки + материал шестерен...

я уже писал, что шестерней приведенных на чертеже у меня в наличии на 162 редуктора.
похоже что из полеэтилена
Аватара пользователя
EdGull
 
Сообщения: 10211
Зарегистрирован: 28 дек 2004, 20:33
Откуда: Тольятти
Skype: Ed_Gull
прог. языки: Bascom AVR Basic
ФИО: Гуль Эдуард Викторович

Re: Народный червячный редуктор для андроидов и пауков

Сообщение =DeaD= » 25 авг 2008, 17:29

2EdGull: Всё-таки оцени, есть смысл городить огород, когда в наличии есть сервы по 200 рупий? Думаю оптом они в 150-180рупий выйдут - может проще их купить и продавать просто по себестоимости, чем всё это делать? Крепление на вал основной как сделаешь? У сервы качалка не даром крепится на специальную зубчатую хрень, такую просто так не сделаешь...
Проект [[Open Robotics]] - Универсальные модули для построения роботов
Аватара пользователя
=DeaD=
 
Сообщения: 24218
Зарегистрирован: 06 окт 2004, 18:01
Откуда: Ебург
прог. языки: C++ / PHP / 1C
ФИО: Антон Ботов

Re: Народный червячный редуктор для андроидов и пауков

Сообщение EdGull » 25 авг 2008, 17:45

это когда тебе два колеса крутить нужно, тогда сервы по 200 рупий нормально, а когда аднроиди или паук?
что ж я зря так тему назвал по твоему? :wink:

Добавлено спустя 12 минут 38 секунд:
и еще, у меня они буду дешеветь а у китайских братьев вряди... :wink:
Аватара пользователя
EdGull
 
Сообщения: 10211
Зарегистрирован: 28 дек 2004, 20:33
Откуда: Тольятти
Skype: Ed_Gull
прог. языки: Bascom AVR Basic
ФИО: Гуль Эдуард Викторович

Re: Народный червячный редуктор для андроидов и пауков

Сообщение =DeaD= » 25 авг 2008, 17:57

EdGull писал(а):это когда тебе два колеса крутить нужно, тогда сервы по 200 рупий нормально, а когда аднроиди или паук?
что ж я зря так тему назвал по твоему? :wink:

Дык за 200р мы имеем готовое проверенное решение, а тут еще сколько сил вложить надо и с энкодерами и схемой управления сколько будет стоить? (а без энкодеров - какой нафиг паук?).
Проект [[Open Robotics]] - Универсальные модули для построения роботов
Аватара пользователя
=DeaD=
 
Сообщения: 24218
Зарегистрирован: 06 окт 2004, 18:01
Откуда: Ебург
прог. языки: C++ / PHP / 1C
ФИО: Антон Ботов

Re: Народный червячный редуктор для андроидов и пауков

Сообщение EdGull » 25 авг 2008, 19:51

1. у нас червяк
2. ставим оптопару с двойным энкодером

Добавлено спустя 31 минуту 47 секунд:
и исчо в догонку, все сервы сделаны на обычных многожрущих транзисторах
мы же также как в опенсерве будем делать на полевиках и с и2ц и уартом

т.е. мы будем использывать не то что нам от моделистом досталось, а то что нам надо для наших роботов...

Добавлено спустя 4 минуты 35 секунд:
Дык за 200р мы имеем готовое проверенное решение, а тут еще сколько сил вложить надо...

Да ты чё??? Ну как покажи мне готовую и проверенную серву со сквозным валом.... :ROFL:

Добавлено спустя 27 минут 58 секунд:
кстати, допустимо ипользывать для скольжения втулку из латуни на основном стальном валу ?
Аватара пользователя
EdGull
 
Сообщения: 10211
Зарегистрирован: 28 дек 2004, 20:33
Откуда: Тольятти
Skype: Ed_Gull
прог. языки: Bascom AVR Basic
ФИО: Гуль Эдуард Викторович

Re: Народный червячный редуктор для андроидов и пауков

Сообщение Vovan » 25 авг 2008, 20:49

Допустимо, потому что все медные сплавы обладают примерно одинаковым коэффициентом трения скольжения и различаются только износостойкостью и температурным режимом...
_________
Sincerely,
Vovan
Аватара пользователя
Vovan
 
Сообщения: 3340
Зарегистрирован: 05 окт 2005, 12:03
Откуда: Литва
прог. языки: asm

Re: Народный червячный редуктор для андроидов и пауков

Сообщение =DeaD= » 25 авг 2008, 20:55

EdGull писал(а):
Дык за 200р мы имеем готовое проверенное решение, а тут еще сколько сил вложить надо...

Да ты чё??? Ну как покажи мне готовую и проверенную серву со сквозным валом.... :ROFL:

Так может и решать тогда проблему сквозного вала, а не вторую серву делать?

А решается эта проблема накладкой правильно изготовленной и приклеиваемой или прикручиваемой с обратной стороны сервы - и её тогда и надо делать.

Нафига всё с нуля то решать?
Проект [[Open Robotics]] - Универсальные модули для построения роботов
Аватара пользователя
=DeaD=
 
Сообщения: 24218
Зарегистрирован: 06 окт 2004, 18:01
Откуда: Ебург
прог. языки: C++ / PHP / 1C
ФИО: Антон Ботов

Re: Народный червячный редуктор для андроидов и пауков

Сообщение EdGull » 25 авг 2008, 21:09

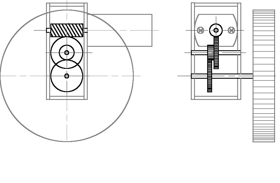
Vovan ну вот что получилось с твоего предложения

reduktor.PNG


Добавлено спустя 2 минуты 14 секунд:
Нафига всё с нуля то решать?

когда выйдем на нормальный спрос такой редуктор со всеми наварами будет в районе 50р. стоить без электроники

Добавлено спустя 3 минуты 3 секунды:
кстати, во втулках вырезаем пазы 1-1.5 мм и вставляем туда стенки и получается у нас полностью закрытый корпус!!!

Добавлено спустя 4 минуты 32 секунды:
и исчо, если будет нормаьный спрос ничего не мешает заказать металические шестерни!!!
Аватара пользователя
EdGull
 
Сообщения: 10211
Зарегистрирован: 28 дек 2004, 20:33
Откуда: Тольятти
Skype: Ed_Gull
прог. языки: Bascom AVR Basic
ФИО: Гуль Эдуард Викторович

Re: Народный червячный редуктор для андроидов и пауков

Сообщение =DeaD= » 25 авг 2008, 21:12

Ну наверное стоит сначала решить вопрос с креплением на валу надежным, а потом закладываться на всё остальное, или всё тривиально и производители серв зря мудрят со всякими зубчатыми валами на выходе?

ps: И что значит без электроники - как его без электроники применять? с возможность апгрейда разве только?
Проект [[Open Robotics]] - Универсальные модули для построения роботов
Аватара пользователя
=DeaD=
 
Сообщения: 24218
Зарегистрирован: 06 окт 2004, 18:01
Откуда: Ебург
прог. языки: C++ / PHP / 1C
ФИО: Антон Ботов

Re: Народный червячный редуктор для андроидов и пауков

Сообщение EdGull » 25 авг 2008, 21:18

Vovan писал(а):Допустимо, потому что все медные сплавы обладают примерно одинаковым коэффициентом трения скольжения и различаются только износостойкостью и температурным режимом...

а допустимо вал делать тоже также как и втулку латуной?

Добавлено спустя 2 минуты 13 секунд:
незнаю как это по вашему по научному, опишу своими словами...
в шестеренке в центральном отверстии выпиливаем скос, на вал припаиваем выступ.

Добавлено спустя 1 минуту 45 секунд:
ps: И что значит без электроники - как его без электроники применять? с возможность апгрейда разве только?

это значит что стоимость электроники опенсервы:
1. сами могут все посчитать
2. кому надо сами изготовят или купят у меня готовую электрониу
Аватара пользователя
EdGull
 
Сообщения: 10211
Зарегистрирован: 28 дек 2004, 20:33
Откуда: Тольятти
Skype: Ed_Gull
прог. языки: Bascom AVR Basic
ФИО: Гуль Эдуард Викторович

Re: Народный червячный редуктор для андроидов и пауков

Сообщение Vovan » 25 авг 2008, 21:41

Vovan ну вот что получилось с твоего предложения
ну всё клёво! (на картинке :wink: )
а допустимо вал делать тоже также как и втулку латуной?

допустимо, но нужно учитывать что латунь не такая прочная как сталь...
_________
Sincerely,
Vovan
Аватара пользователя
Vovan
 
Сообщения: 3340
Зарегистрирован: 05 окт 2005, 12:03
Откуда: Литва
прог. языки: asm

Пред.След.

Вернуться в Механика

Кто сейчас на конференции

Сейчас этот форум просматривают: нет зарегистрированных пользователей и гости: 0

cron