Это они Маска заманивают, втянут его в гонку за ракетами.
Вот тут уже была большая ракета https://varlamov.ru/3200808.html
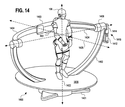
![]() |
roboforum.ruТехнический форум по робототехнике. |
|
Ворон писал(а):почиталтему, спс , посмеялся хоть))))








оно самое. после газонокосильщика столько всяких подобных платформ было (в фильмах, в мультфильмах, концептов на разных ресурсах,...) уже столько, что даже добавляя силовой экзоскелет для создания обратной связи, всё-равно будет дырка от бублика.
или про "дырку от бублика" не понял? "дырка от бублика" эт такой прикол от патентных тролей. ну запатентовали, их потом в суде лесом послали. ничего нового в твоём патенте нет, да и легко обходится. кстати как патентный троль, тоже не очень. годами фигнёй страдать, когда намного проще посмотреть, что крупные конторы клепают и запатентовать что они не захотели патентовать (замахаться можно). "вот если такой болтик вот в этом месте, это даст такой чудный эфект". и всё - иногда переделывать дорого, судиться тоже, проще несколько тысяч/десятков тысяч заплатить. так и живут.
зачем тогда эту всю пургу на десятки страниц годами разводишь? веришь, можешь? делай. реализованный концепт (пусть даже упрощённо, плохенько, с недостатками,.....) всегда лучше воображаемого идеального, которое никогда дальше фантазии не уйдёт 
в дальний ящик стола. как бы так помягче, про некоторые особенности работы системы (и позитивные и не очень) немного в курсе. за последние годы про несколько проектов (без всяких связей и откатов) немного мельком в курсе - нормальная идея, нормальное общение с людьми и в итоге нормальная реализация, все довольны. ещё совсем недавно человек, кажется из подмосковья, носился с предложением, кому чего помочь в железе воплотить. куча модных станочков, опыт, доступ к материалам,... что-то совсем не припомню, что бы тебя там в теме видел. или прям для водолазов? т.е. поф на куда больший рынок виртуальной реальности, где элементарно начать да хоть с зоны развлечений в супермаркете?
не хочшь реализовать или не можешь или с людьми общаться на столько не можешь, что везде посылают?
тады ойсь, мечтай дальше. пардонс, ты не давинчи и эти наброски гарантированно ждёт забвение.

и толку от какого-то патента, если описанное в нём никогда не будет реализовано? подпрыгнешь на пять метров? ростом не вышел, гравитация слишком сильная, низкий потолок мешает, лень или ещё что. не можешь, значит не можешь. можешь, значит сумел батут достать или на ноги джампер одел или ещё как. тут тоже самое - убирается шелуха и остаётся очень простая последовательность - кто хочет, может и считает, что этим стоит заниматься, тот делает. остальные придумывают отговорки, шутят на десятки страниц, фантазируют на тему "если бы, да якобы".

Сейчас этот форум просматривают: нет зарегистрированных пользователей и гости: 0