indoor-навигация

Автомат, адаптивный автомат ... разум

indoor-навигация

Сообщение psi » 08 окт 2017, 21:37

Здравствуйте, уважаемые участники форума!
Я интересуюсь проблемами автономной навигации наземных мобильных роботов (UGV) и пока только новичок в этой области. Правильно ли я понимаю, что на текущий момент решение задачи - проехать роботу из одной точки помещения в другую (пусть и с препятствиями, но преодолимыми) уже решена? Тому свидетельствуют, н-р, системы iBeacon и пр. Если быть точнее, то скажем, нам доступна планировка помещения, и мы хотим отправить робота из одной комнаты в другую (пусть все двери открыты).

Какие исследовательские проблемы здесь существуют? Или все уже решено? Пока на слуху только SLAM, но и он уже достаточно хорошо исследован (о чем свидетельствует множество диссертаций, фреймворков...).

P.S.
Было бы неплохо, наверно, открыть ветку на форуме - "навигация". А то вот есть "алгоритмы", это, по-моему, слишком размазанное название.
psi
 
Сообщения: 10
Зарегистрирован: 20 июл 2016, 21:19

Re: indoor-навигация

Сообщение Scorpio » 10 окт 2017, 12:49

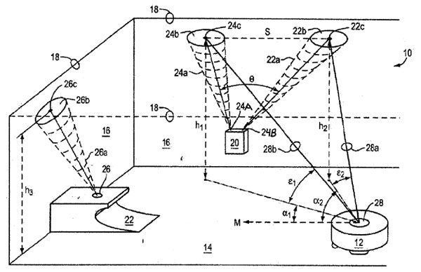
ВТ маяки вряд ли будут точно работать в небольшом помещении. У того же iBeacon заявленная точность позиционирования около 2 м. Скорее надо смотреть в сторону систем, используемых роботами-пылесосами.Типа NorthStar:
irobot-celestial-navigation-patent.jpg

Но похоже, что проще и надежнее SLAMа еще ничего не придумали.
Аватара пользователя
Scorpio
 
Сообщения: 2702
Зарегистрирован: 30 сен 2008, 18:49
Откуда: Где-то в Латинской Америке

Re: indoor-навигация

Сообщение psi » 12 окт 2017, 00:05

Спасибо за информацию. Одна из проблема, которая мне видится у SLAMa, это динамичность среды. То есть необходимо различать статические маяки от динамических. Последние не нужно вносить в карту. Хотя вроде уже появился и семантический SLAM, но я не вникал, есть ли у него такая опция.
psi
 
Сообщения: 10
Зарегистрирован: 20 июл 2016, 21:19


Вернуться в Алгоритмы

Кто сейчас на конференции

Сейчас этот форум просматривают: нет зарегистрированных пользователей и гости: 2