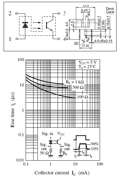
Такие хрени: ИК излучатель и приемник, а между ними щель...
Валяются они у меня, появилась идея куда применить, но вот вопрос: их можно прямо в 5В и в контроллер втыкать или все-же нужны внешние резисторы? Увы принтера из которого их выдернул не сохранилось и посмотреть негде...
