slava писал(а): А если серьезно, имхо - не нужно делать клоны младших авр (кстати , а это законно ? ведь АВР - запатентованная технология и принадлежит Атмел), а нужно ЧЕСТНО лицензировать ядро ARM и плясать от него - ибо это действительно еще нужно, и можно занять свою нишу + задел на будущее.
А стырить технологию, как в делали в СССР - (электронный микроскоп и аналог микросхемы готов - упрощенно конечно же, но все-же) - это последние дело.
Прошло, то время когда у них и нас была ~одинаковая технологическая норма. АВР ? это 0.6 мкм и 3 метала, у нас таких возможностей нет. Поэтому ? ?... электронный микроскоп и аналог микросхемы готов - упрощенно конечно же, но все-же ...? ? тут не работает, надо делать как говорится с нуля. Кстати даже сделать передер (электронный микроскоп и аналог микросхемы готов) тоже надо потрудиться, для этого тоже не мало надо знать... так что не думайте, пожалуйста, что это просто. Еще, к слову, 0.6 еще как то читаемо, 0.5 , а тем более 0.35 100% восстановить практически не реально.
А по поводу законности: если есть холодильник стинол ? классно морозит, и есть, например, какой то Атлант, делает тоже самое ? классно морозит, внешне разные и внутри тоже, но функционально заменяемы ? это законно? И вообще это вопрос не потребителей как мы...
=DeaD= писал(а):3. Я не понял ваше отношение к этому МК? Вы хотите поддержать разработчиков отечественных МК своими действиями или сделать что-то конкретное? Или совместить это?
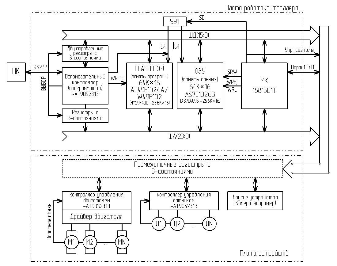
Уважаемый =DeaD=! Почему я привязался к этому МК?, объясню свои мотивы:
1. Я подумал, если робот ездит по какой-то территории, то наверно по показаниям датчиков можно составить карту местности и ее надо где то хранить, где? В ОЗУ, а какой объем нужен? С семейством АВР я особо не знаком, в тех контроллерах которые я знал это 128 - 256 байт, я подумал что это мало.. Разбираться с кучей всяких контроллеров я смысла не увидел, а под рукой была спецификация на К1881ВЕ1Т, да и сам контроллер достать для меня не проблема, а он позволяет адресовать 16 мега слов памяти программ и столько же данных с возможностью масштабирования шины. Я так понял что авр предлагает несколько килобайт ОЗУ. По памяти один лишь недостаток она внешняя!
2. Далее, смотрим, все ли есть для работы? Контроллер есть, спецификация есть, связь с разработчиками есть, отладочная среда (асм, си, отладчик, даже VHDL модель) есть, желание с ним работать тоже еще есть, осталось решить проблему с памятью и вперед ? я вообще не пойму почему на меня накинулись, почему нельзя сделать мозги робота на этой системе?, почему все тыкают в сторону АВР, я почему то больше возможностей вижу в этом контроллере, (может из за того что не знаю возможностей Атмеги

) И никто мне не мешает делать контроллер двигателя, или там ик локаторы или еще что другое на авр или еще на какой мелочи (кстати я так и делаю..), а обработку всей информации делать на К1881ВЕ1Т.
Вообще мне интересно, какие недостатки вы видите в К1881ВЕ1Т, кроме внешней памяти, чего в нем нет, что жизненно необходимо для робоконтроллера? Откройте мне глаза, может и вправду плохая идея его использовать?