roboforum.ru

Технический форум по робототехнике.

Робоконтроллер на 16-разрядном отечественном микроконтроллер

Программирование микроконтроллеров AVR, PIC, ARM.
Разработка и изготовление печатных плат для модулей.

Сообщение dx40 » 05 авг 2005, 13:40

Уверен. Это не оперативка, а кеш. да и не было в те времена 15нс драм.
Аватара пользователя
dx40
 
Сообщения: 201
Зарегистрирован: 27 янв 2005, 11:49
Откуда: Мск

Сообщение nikolasha » 05 авг 2005, 14:44

=DeaD= писал(а):Но чтобы сделать что-то на старой элементной базе, понятное до винтика как делать на современной элементной базе - это, IMHO, по меньшей мере странно  
А что не на транзисторах? зачем тогда вообще МК брать?


Почему  К1881ВЕ1Т ? старая элементная база??? Я в шоке :) , а что считается старым 1, 2, 3... года назад сколько??? А что в нем старого Вы увидели, чего в нем не хватает для полного счастья ??? ШИМ?а? USB? Внутреннего EEPROM? Или что?..
Ребята! Не будем использовать свое, оно совсем загнется? :(
Вот кто мне может назвать, сколько контроллеров выпускается в СНГ??? А сколько из них своих (не аналогов)?.. А если и появится какая-то своя разработка ? то сразу же такие как =DeaD= закричат СТАРЬЕ!, зачем оно нужно! есть же AVR! PIC!.. и многое другое.. зачем нам свое. Никто не задумывается что может наступить время когда не будет ни AVR, ни чего либо другого импортного, а надо будет разработать что то свое, а кинешься, то и некому это будет делать свои контроллеры - все КБ из-за отсутствия поддержки среди своего потребителя исчезнут совсем... Вы думаете просто людям заниматься разработкой таких вещей, думаете классно им слышать ?Что то, что они делают никому не надо!?. Вот вам немного реальности: В настоящее время делают аналоги Ваших любимых АВР, три контроллера (23- 13,23,33). Как Вы думаете сколько людей делало эти контроллеры за границей ??? 1, 10, 100 ? какая цифра более реальна? Ответьте, пожалуйста!? Ну, вот, а у нас эти три контроллера разрабатывает 1 схемотехник, 1 тополог, и один тестер, = 3 человека! 3 контроллера! Зарплата у них ~ 180, 150, 120 зеленых! Вот в таком состоянии наша микроэлектроника. Но нам их работа не нужна, мы готовы отвернуться от них! Схему К1881ВЕ1Т ? тоже разрабатывал 1 схемотехник, правда он уже лет 8 работает на Тайване (за бугром) и этим контроллером почти не занимались все это время. Сейчас его (МК) отдали в руки ?молодого?(29 лет) специалиста, за плечами которого несколько контроллеров (в том числе 51 с EEPROM ? скоро должен уже продаваться), микропроцессор для суперкомпьютера. Так что я думаю будущее у него есть(К1881ВЕ1Т), если конечно не зарубить на все это, заранее сказав что это нам не надо! у нас есть импортные контроллеры!.

Ладно, все это лирика.. надоели просто комментарии типо: зачем это!, старье!, есть АВР!
Извините за этот крик души! Давайте больше подобные вещи здесь не обсуждать. Когда я открывал эту тему ? я надеялся на реальную техническую помощь, а не на вопросы зачем мне это надо. Если есть желание поговорить на тему что лучше свое или чужое?, и надо ли свое? А что такое свое и чужое? То давайте откроем тему: ?Есть ли отечественные контроллеры, подходящие для построения роботов? И надо ли их использовать?!? и там будем обсуждать подобные вещи.

Кстати мне интересно знать, нужна ли тема ?Что бы Вам хотелось изменить в АВР-контроллерах?? (конкретно по следующим моделям:AT90S/LS2313, AT90S/LS2323, AT90S/LS4433) потому что такая возможность реально есть (в нашем аналоге).
nikolasha
 
Сообщения: 30
Зарегистрирован: 02 июл 2005, 12:05
Откуда: Минск

Сообщение nikolasha » 05 авг 2005, 14:45

dx40 писал(а): По поводу памяти: быструю SRAM можно снять с материнок от 486-пентиумов. например я достал UM61M256K-15 - 15 нс SRAM 32кБ.

Мне бы хотелось использовать серийную память, которая еще выпускается и которую реально купить. Вообще с ОЗУ проблем меньше ? оно само по себе шустро работает, с памятью программ сложнее, в принципе пока надо найти FLASH или EEPROM до 80 нс. А по спецификациям я быстрее 40/45 нс вообще не видел.
nikolasha
 
Сообщения: 30
Зарегистрирован: 02 июл 2005, 12:05
Откуда: Минск

Сообщение slava » 05 авг 2005, 15:12

nikolasha писал(а):Сейчас его (МК) отдали в руки ?молодого?(29 лет) специалиста, за плечами которого несколько контроллеров (в том числе 51 с EEPROM ? скоро должен уже продаваться), микропроцессор для суперкомпьютера.


Огласите весь список пожалуйста. (с)

А если серьезно, имхо - не нужно делать клоны младших авр (кстати , а это законно ? ведь АВР - запатентованная технология и принадлежит Атмел), а нужно ЧЕСТНО лицензировать ядро ARM и плясать от него - ибо это действительно еще нужно, и можно занять свою нишу + задел на будущее.

А стырить технологию, как в делали в СССР - (электронный микроскоп и аналог микросхемы готов - упрощенно конечно же, но все-же) - это последние дело.
slava
 
Сообщения: 188
Зарегистрирован: 12 апр 2005, 11:47
Откуда: Москва

Сообщение =DeaD= » 05 авг 2005, 15:22

0. Извиняюсь за то что назвал старым не разбираясь... однако сути это похоже не меняет.

1. Поддерживать обороноспособность и независимость от импортеров своей страны? Это вопрос уровня государственной политики, и ваши действия тут ничему не помогут, я думаю примеров вокруг и так полно.

2. IMHO зарубить или не зарубить решается отнюдь не на форумах радиолюбителей или, тем более, робототехники, это решается договорами на поставку тысяч или десятков тысяч МК для всяческих систем типа домофонов, охранных сигнализаций (стационарных и автомобильных), ну и прочих применений;

3. Я не понял ваше отношение к этому МК? Вы хотите поддержать разработчиков отечественных МК своими действиями или сделать что-то конкретное? Или совместить это?
Аватара пользователя
=DeaD=
 
Сообщения: 24218
Зарегистрирован: 06 окт 2004, 18:01
Откуда: Ебург
прог. языки: C++ / PHP / 1C
ФИО: Антон Ботов

Сообщение nikolasha » 05 авг 2005, 21:28

slava писал(а): А если серьезно, имхо - не нужно делать клоны младших авр (кстати , а это законно ? ведь АВР - запатентованная технология и принадлежит Атмел), а нужно ЧЕСТНО лицензировать ядро ARM и плясать от него - ибо это действительно еще нужно, и можно занять свою нишу + задел на будущее.
А стырить технологию, как в делали в СССР - (электронный микроскоп и аналог микросхемы готов - упрощенно конечно же, но все-же) - это последние дело.

Прошло, то время когда у них и нас была ~одинаковая технологическая норма. АВР ? это 0.6 мкм и 3 метала, у нас таких возможностей нет. Поэтому ? ?... электронный микроскоп и аналог микросхемы готов - упрощенно конечно же, но все-же ...? ? тут не работает, надо делать как говорится с нуля. Кстати даже сделать передер (электронный микроскоп и аналог микросхемы готов) тоже надо потрудиться, для этого тоже не мало надо знать... так что не думайте, пожалуйста, что это просто. Еще, к слову, 0.6 еще как то читаемо, 0.5 , а тем более 0.35 100% восстановить практически не реально.
А по поводу законности: если есть холодильник стинол ? классно морозит, и есть, например, какой то Атлант, делает тоже самое ? классно морозит, внешне разные и внутри тоже, но функционально заменяемы ? это законно? И вообще это вопрос не потребителей как мы...

=DeaD= писал(а):3. Я не понял ваше отношение к этому МК? Вы хотите поддержать разработчиков отечественных МК своими действиями или сделать что-то конкретное? Или совместить это?

Уважаемый =DeaD=! Почему я привязался к этому МК?, объясню свои мотивы:
1. Я подумал, если робот ездит по какой-то территории, то наверно по показаниям датчиков можно составить карту местности и ее надо где то хранить, где? В ОЗУ, а какой объем нужен? С семейством АВР я особо не знаком, в тех контроллерах которые я знал это 128 - 256 байт, я подумал что это мало.. Разбираться с кучей всяких контроллеров я смысла не увидел, а под рукой была спецификация на К1881ВЕ1Т, да и сам контроллер достать для меня не проблема, а он позволяет адресовать 16 мега слов памяти программ и столько же данных с возможностью масштабирования шины. Я так понял что авр предлагает несколько килобайт ОЗУ. По памяти один лишь недостаток она внешняя!
2. Далее, смотрим, все ли есть для работы? Контроллер есть, спецификация есть, связь с разработчиками есть, отладочная среда (асм, си, отладчик, даже VHDL модель) есть, желание с ним работать тоже еще есть, осталось решить проблему с памятью и вперед ? я вообще не пойму почему на меня накинулись, почему нельзя сделать мозги робота на этой системе?, почему все тыкают в сторону АВР, я почему то больше возможностей вижу в этом контроллере, (может из за того что не знаю возможностей Атмеги :) ) И никто мне не мешает делать контроллер двигателя, или там ик локаторы или еще что другое на авр или еще на какой мелочи (кстати я так и делаю..), а обработку всей информации делать на К1881ВЕ1Т.
Вообще мне интересно, какие недостатки вы видите в К1881ВЕ1Т, кроме внешней памяти, чего в нем нет, что жизненно необходимо для робоконтроллера? Откройте мне глаза, может и вправду плохая идея его использовать?
nikolasha
 
Сообщения: 30
Зарегистрирован: 02 июл 2005, 12:05
Откуда: Минск

Сообщение dx40 » 05 авг 2005, 22:01

На самом деле сам МК хороший, но я вижу тут 2 проблемы, свойственные отечественным поде... микросхемам
1) скудная документация, отсутствие примеров
2) неизвестно как он на самом деле работает - несколько раз уже нарывался на так называемые аналоги, которые работают не так как оригинал. Да и качество обычно оставляет желать лучшего.

А внешняя шина - это скорее плюс, а не минус - при желании на шину можно подцепить смос матрицу так, чтоб она казалась частью оперативки.
Аватара пользователя
dx40
 
Сообщения: 201
Зарегистрирован: 27 янв 2005, 11:49
Откуда: Мск

Сообщение =DeaD= » 06 авг 2005, 08:10

nikolasha писал(а):Вообще мне интересно, какие недостатки вы видите в К1881ВЕ1Т, кроме внешней памяти, чего в нем нет, что жизненно необходимо для робоконтроллера? Откройте мне глаза, может и вправду плохая идея его использовать?

Не буду обсуждать "давайте лучше своё", буду объективен:
1. Внешнюю память можно подцепить и к АВР (с меньшей конечно скоростью работы, но что на таком проце - с десятком MIPS можно быстро делать с мегабайтами памяти?);
2. Производительность АВР, насколько я знаю, выше;
3. Документированность АВР на 2-3 порядка лучше (в смысле наличия тучи примеров работы в совершенно разных сферах применения);
4. Стабильность - что-то мне говорит, что этот К1881ВЕ1Т обладает гораздо меньшей стабильностью и безглючностью;
5. Повторяемость вашей конструкции - например, у ведущего поставщика электронных компонентов в уральском регионе его (К1881ВЕ1Т) нет в номенклатуре.

Мало?
Аватара пользователя
=DeaD=
 
Сообщения: 24218
Зарегистрирован: 06 окт 2004, 18:01
Откуда: Ебург
прог. языки: C++ / PHP / 1C
ФИО: Антон Ботов

Сообщение nikolasha » 07 авг 2005, 20:22

Спасибо dx40 и =DeaD= за ваши комментарии, но недостаток документации и сомнительную стабильность я не считаю серьезной технической проблемой. Если и к АВР и к К1881ВЕ1Т можно подключить внешнюю память, то я выберу К1881ВЕ1Т. Производительность у него 10-12,5 млн. операций, у АВР не знаю ? но пока вопрос о производительности у меня не стоял? Я вообще думал что в нем нет какого либо очень нужного интерфейса, или там портов ввода вывода не хватает.. чисто технические недостатки, а не отсутствие документации ? это я сразу понимал, поэтому и затеял эту тему чтоб кто рассказал как программировать параллельный ФЛЭШ, как программирование организовать на одной плате с контроллером, как подрубить сигналы с датчиков и управляющие движками сигналы?.

Дык кто ни будь пробовал зайти  http://www.vkbrs.vladimir.ru/ , получается?
nikolasha
 
Сообщения: 30
Зарегистрирован: 02 июл 2005, 12:05
Откуда: Минск

Сообщение =DeaD= » 07 авг 2005, 21:58

nikolasha писал(а):Производительность у него 10-12,5 млн. операций, у АВР не знаю ?

...управляющие движками сигналы?.

Дык кто ни будь пробовал зайти  http://www.vkbrs.vladimir.ru/ , получается?


1. Производительность у АВР до 20 млн. операций;
2. ШИМ есть на борту у этого МК?
3. http://www.vkbrs.vladimir.ru/ - не заходится.
Аватара пользователя
=DeaD=
 
Сообщения: 24218
Зарегистрирован: 06 окт 2004, 18:01
Откуда: Ебург
прог. языки: C++ / PHP / 1C
ФИО: Антон Ботов

Сообщение nikolasha » 10 авг 2005, 00:22

=DeaD= писал(а):2. ШИМ есть на борту у этого МК?

ШИМа нет.
nikolasha
 
Сообщения: 30
Зарегистрирован: 02 июл 2005, 12:05
Откуда: Минск

Сообщение Kolyan » 10 авг 2005, 16:09

А сколько он будет стоить (в пересчете на доллары) ?
Kolyan
 
Сообщения: 16
Зарегистрирован: 08 июл 2005, 16:39
Откуда: Минск

Сообщение nikolasha » 10 авг 2005, 21:41

Kolyan писал(а):А сколько он будет стоить (в пересчете на доллары) ?

Честно говоря, не знаю, может 10$, +- несколько $
nikolasha
 
Сообщения: 30
Зарегистрирован: 02 июл 2005, 12:05
Откуда: Минск

Сообщение Kolyan » 12 авг 2005, 09:00

nikolasha писал(а):
Kolyan писал(а):А сколько он будет стоить (в пересчете на доллары) ?

Честно говоря, не знаю, может 10$, +- несколько $

Сложно, наверное, им будет конкурировать. Большинство контроллеров, которые уже все знают и освоили стоят дешевле... Будет ли экономическая выгода у производителей РЭА от использования этих контроллеров? Может им выгодней применить буржуйский аналог? ....
Kolyan
 
Сообщения: 16
Зарегистрирован: 08 июл 2005, 16:39
Откуда: Минск

Сообщение nikolasha » 28 авг 2005, 22:32

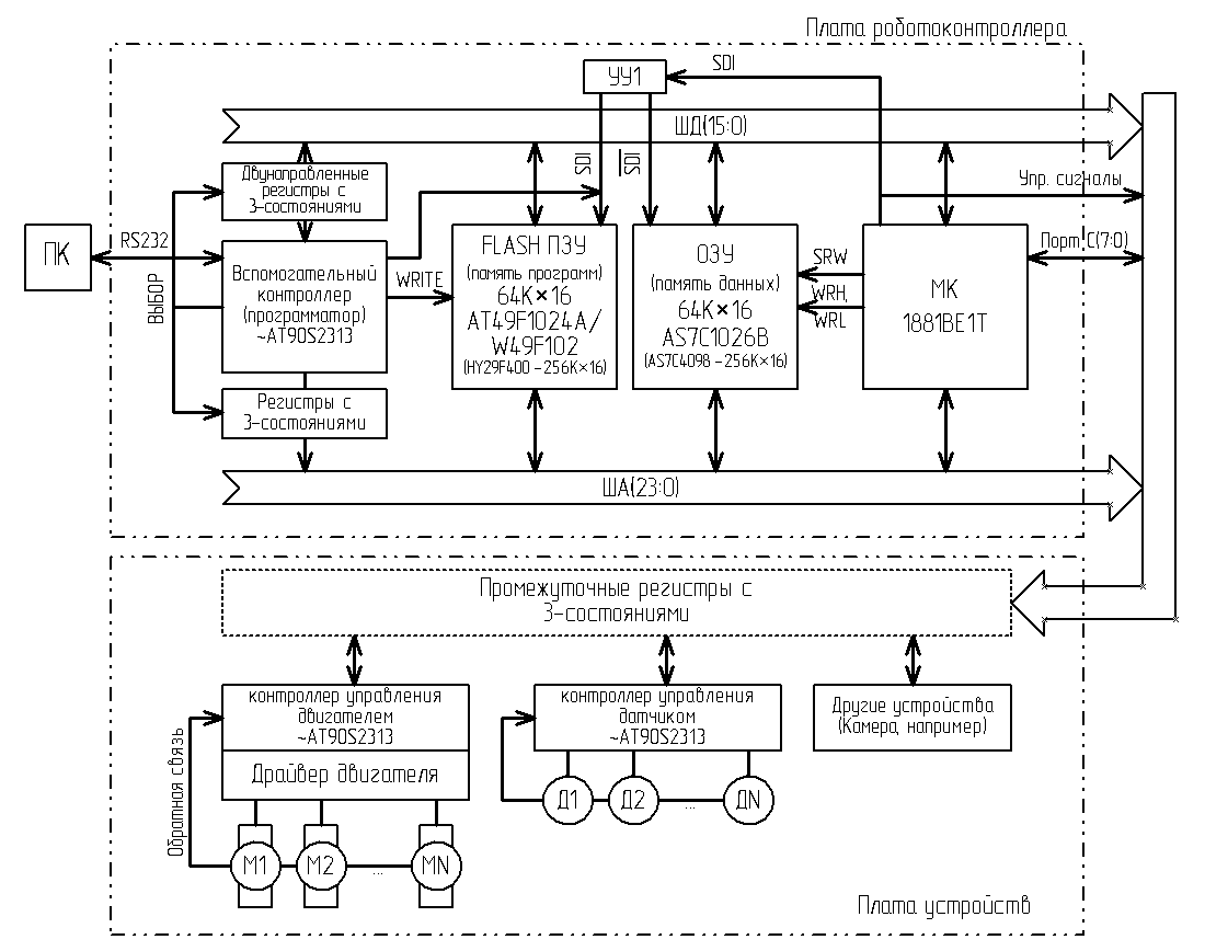
Представляю на обсуждение схему робоконтроллера, правда, пока только в блоках.
Значит, с ПК по ком порту записываем/читаем программу с помощью контроллера, который принимает данные, записывает последовательно в регистры, затем выдает на шину, блокируя остальные устройства. Вся периферия на другой плате, подключается через:
? двунаправленный порт С(7:0)
? незадействованные выводы шины адреса (~8 выводов)
? через шину данных и ША, через регистры

Жду ваших комментариев и советов по организации структуры.
Вложения
r1.png
Блок схема
nikolasha
 
Сообщения: 30
Зарегистрирован: 02 июл 2005, 12:05
Откуда: Минск

Пред.След.

Вернуться в Микроконтроллеры

Кто сейчас на конференции

Сейчас этот форум просматривают: нет зарегистрированных пользователей и гости: 5