Дык ведь это нужно было знать, что там-то и там-то есть такая схема...
Ну да ладно.
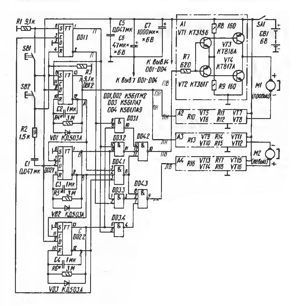
Ключи задержки, кстати, я тоже построил на триггерах, а в самом конце (перед драйверами моторов) еще по инвертору добавил, дабы танковый разворот осуществлялся.
Схема конечно интересная, однако громоздкая очень, а если еще и ИК каналы помехозащищенные добавить - ваще громадина получится (у меня платы в два этажа были

)...
Поэтому (да и не только поэтому) народ, в большинстве своем, перешел на МК, т.к. один корпус и минимум разводки заменяет все это нагромождение логики...
Если смотреть в сторону роботов на логике, то тут где-то мелькала ссылка на бот на одной м\сх 74HC240 (по-моему Radist давал), там даже драйверы на моторы не нужны, т.к. на выходе у м\сх 50мА, а если запараллелить ЛЭ то все 100мА получатся, вполне приемлемо для небольших моторов, но можно и мосты добавить, если моторы мощнее...