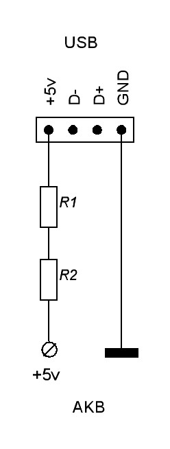
самый простой зарядник это от USB 5 вольт + резистор
ставятся сразу 2 штуки последовательно.
резистор и время заряда вычисляются в уме, приблизительно, относительно ёмкости акков и личных пожеланий

|  | roboforum.ruТехнический форум по робототехнике. |  | 



 
 
у меня 600 мА значит я приблизительно (резисторами) должен подобрать тоа ~60 мА и заряжать порядка 12 часов?
нет.=DeaD= писал(а):А нельзя стабилизатор линейный adjustable поставить и выставить на нём нужное напряжение зарядки?
VIRUS_V8 писал(а): я приблизительно (резисторами) должен подобрать тоа ~60 мА и заряжать порядка 12 часов?

 чтоб вынуть акумуляторы вовремя.
 чтоб вынуть акумуляторы вовремя.
=DeaD= писал(а):Одно плохо - зарядников заряжающих банки независимо мало или подороже обычно они, стандартно парами заряжает, а тут 3 банки.
 бабка на двое сказала.
  бабка на двое сказала.
Вернуться в Электроника, электротехника
Сейчас этот форум просматривают: нет зарегистрированных пользователей и гости: 0