|  | roboforum.ruТехнический форум по робототехнике. |  | 


 , купить готовое пропорциональное ру нет возможности. а тут вроде все более менее просто
 , купить готовое пропорциональное ру нет возможности. а тут вроде все более менее просто  да и команд достаточно)
 да и команд достаточно)


 предложите ваш вариант, который бы мне подошел (желательно попроще)). Купить-не вариант
 предложите ваш вариант, который бы мне подошел (желательно попроще)). Купить-не вариант 


рома316 писал(а):покупать:
1-дорого, да и купить в магазине не получится, таких тут просто нет(
2-нужно чтобы ру уже через месяц было, за месяц мне из китая врядли доставят(
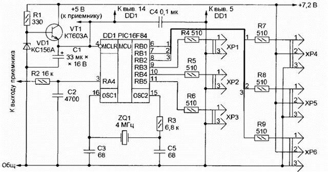
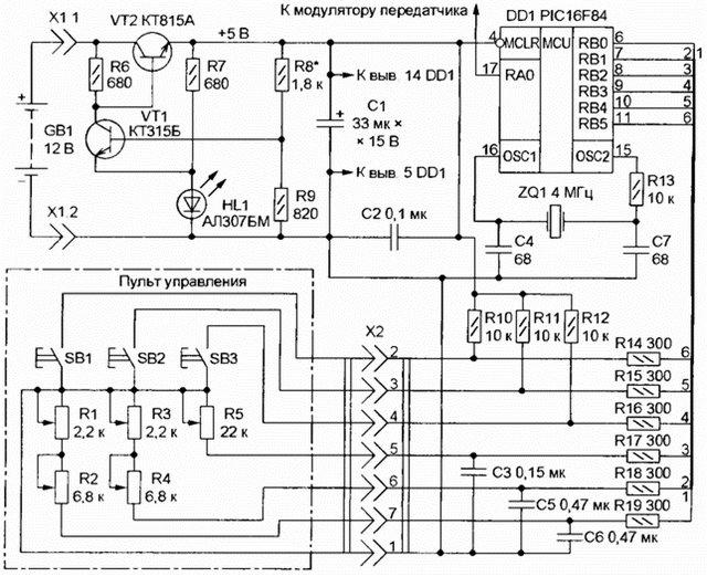
.jpg)





 , мне понравились и другие, но их нет в наличии
 , мне понравились и другие, но их нет в наличии 
Myp писал(а):вот бы кто ещё сказал где можно купить 3х летний полноприводный хэтч с кондеем и не дороже 300 тыщ... и наступило бы вселенское счастье.
 
 
Вернуться в Электроника, электротехника
Сейчас этот форум просматривают: нет зарегистрированных пользователей и гости: 3